Curiosii for ever!: Car repair manuals for everyone.

Condenser Fan Motor Relay: Testing and Inspection








INSPECTION

CONDENSER FAN
1. Check the condenser fan for proper operation.
2. Check the harness connector.
3. Check the condenser fan motor using battery voltage as shown below.





CONDENSER FAN RELAY (Type A)
Check for continuity between the terminals.
1. There should be continuity between the No.87 and No.30 terminals when power and ground are connected to the No.86 and No.85 terminals.
2. There should be no continuity between the No.87 and No.30 terminals when power is disconnected.









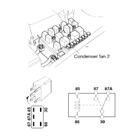
CONDENSER FAN RELAY (Type B)
Check for continuity between the terminals.
1. There should be continuity between the No.87 and No.30 terminals when power and ground are connected to the No.86 and No.85 terminals.
2. There should be continuity between the No.87A and No.30 terminals when power is disconnected.