Curiosii for ever!: Car repair manuals for everyone.

Repair Procedures









REMOVAL

1. Remove front pillar trim.
(1) Remove door opening weatherstrip.




(2) Remove front pillar trim blanking cover.
(3) Remove front pillar trim screw(1).




2. Remove inside rearview mirror.




(1) Remove rain sensor cover.
(2) Remove inside rearview mirror base cover.
(3) Disconnect inside rearview mirror connector.
(4) Slide downward (an arrow direction) to remove inside rearview mirror from inside rearview mirror base.
3. Remove windshield wiper arm(LH).
(1) Remove wiper arm cap.
(2) Remove wiper arm nut.

Tightening torque:
28-33Nm (2.8-3.3kg-m, 20.3-23.9lb-ft)






4. Remove windshield wiper arm(RH).
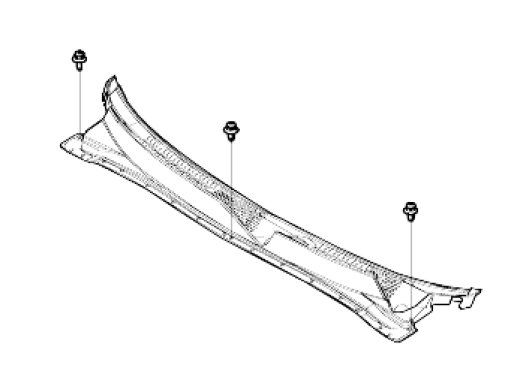
5. Remove cowl top cover.
(1) Remove cowl top cover fasteners(3).




(2) Remove cowl top cover.
6. Remove windshield glass side molding.




7. Pierce the sealant with a pull knife and cut all the way around the windshield from outside the vehicle.




8. Remove the glass to a safe place.


INSTALLATION

1. Remove the excess sealant from the glass with a window scraper.




2. Remove the excess sealant and foam dam from the body with a knife.




3. Clean the inside of the glass with commercial glass cleaner and a lint-free cloth.
4. Prime an area approximately 20 mm(3/4 inch) wide around the complete perimeter of the glass.
5. Prime the contact area on the body.
6. Reprime the same area on the inside surface of the glass.

CAUTION:
Do not permit any primed surface to become contaminated with dirt, water, oil, etc. Do not touch primed surfaces with your hands. Contamination will affect adhesion.

7. Install the self-adhesive foam dam to the body where the original dam had been.





NOTE:
The following cure times may be critical. Attempting to replace a windshield in ambient temperature over 35°C(95°F) should be avoided before completing the application.






8. Apply the sealant bead to the body just outside the dam. The bead should be slightly higher than the dam.




9. Install molding on the glass.




10. Install the glass into the body making sure the glass rests upon the two spacers at the bottom of the windshield.




11. Press glass firmly into place.









CAUTION:
Lower both front door windows and leave them in that condition until the vehicle can be put back into service. If the vehicle were completely closed, quickly closing a door could break the seal.

12. Remove excess sealant, if any.
13. Press molding firmly into place.
14. Perform water leak test immediately.
15. Clean the outside of the windshield.
16. Install both of the front pillar trims.
17. Install the inside rearview mirror.
18. Install the cowl top cover with three fasteners.
19. Install both wiper arm assemblies with one nut each.

Tightening torque:
28-33Nm (2.8-3.3kg-m, 20.3-23.9lb-ft)