Curiosii for ever!: Car repair manuals for everyone.

Ignition Coil: Service and Repair

IGNITION COIL

REMOVAL
1. Remove the engine cover.




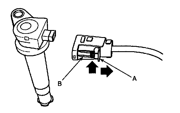
2. Disconnect the ignition coil connector(A).






NOTE: When removing the ignition coil connector, pull the lock pin (A) and push the clip(B).

3. Remove the ignition coil (B).
4. Installation is the reverse of removal.