Curiosii for ever!: Car repair manuals for everyone.

Transmission Temperature Sensor/Switch: Service and Repair

TRANSAXLE OIL TEMPERATURE SENSOR

REMOVAL

1. Remove the battery terminal.
2. Lift the vehicle.
3. Remove the under cover.
4. Loosen the drain plug (A) and drain the transaxle oil.





5. Remove the oil pan (A).





6. Remove the oil filter (A).





7. Remove the valve body.
8. Disconnect the oil temperature sensor connector (A) from the valve body.





INSTALLATION

1. Connect the oil temperature sensor connector to the valve body.

CAUTION: When connecting the oil temperature connector, check the connector for rust, dirt, or oil, then reconnect it

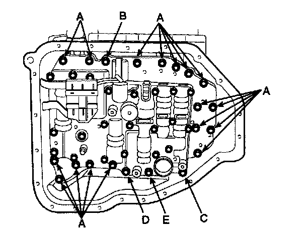
2. Install the valve body.

TORQUE: 10 - 12 Nm (100 - 120 kgf.cm, 7 - 8 lb-ft)

NOTE: 6X30mm (A): 17EA, 6X35mm (B): 1EA, 6X40mm (C): 1EA, 6X55mm (D): 1 EA, 6X60mm (E): 1EA





3. Install the oil filter.

TORQUE: 5 - 7 Nm (50 - 70 kgf.cm, 4 - 5 lb-ft)

4. Continue to apply liquid gasket at application points at the oil pan with diameter 0.098 inch (2.5 mm) thickness.





5. Tighten the mounting bolt with the specified TORQUE after installing the oil pan.

TORQUE: 10 - 12 Nm (100 - 120 kgf.cm, 7 - 8 lb-ft)

6. Install the drain plug.

TORQUE: 35 - 45 Nm (350 - 450 kgf.cm, 25 - 32 lb-ft)

7. Installation is the reverse of the removal.