Evaporator Temperature Sensor / Switch: Service and Repair
EVAPORATOR TEMPERATURE SENSORREPLACEMENT
1. Disconnect the negative (-) battery terminal.
2. Remove the crash pad.
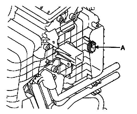
3. Disconnect the evaporator sensor connector (A).
4. Remove the blower unit from the heater unit after loosening a mounting bolt & 3 screws.
5. Remove the evaporator sensor (A) from evaporator core by pulling out.
CAUTION: Take care that evaporator core pins are not bent.
6. Installation is the reverse order of removal.