Curiosii for ever!: Car repair manuals for everyone.

Power Transistor HVAC: Testing and Inspection

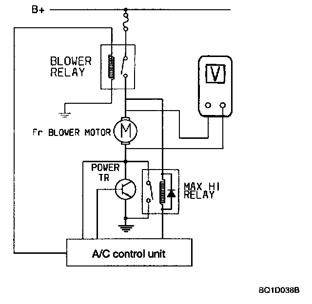
CHECK (AUTO CONTROL)







1. Manually operate the control switch and measure the voltage of blower motor between pin 1 and 2.
2. Select the control switch to raise voltage until high relay operates.




CHECK
Tolerance: ± 0.5 V