Curiosii for ever!: Car repair manuals for everyone.

Evaporator Temperature Sensor / Switch: Service and Repair

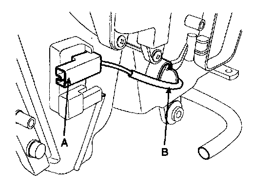
EVAPORATOR TEMPERATURE SENSOR

REPLACEMENT
1. Remove the crash pad center lower cover.
2. Remove the evaporator sensor connector (A).




3. Remove the evaporator temperature sensor (B), by pulling it after rotating 90 degrees in a counterclockwise direction.
4. Installation is the reverse order of removal.