Curiosii for ever!: Car repair manuals for everyone.

Fuel Tank: Service and Repair

Fuel Tank

REMOVAL
1. Remove the rear seat cushion.




2. Open the service cover (A) under the rear seat cushion.




3. Release the internal pressure of the fuel lines and hoses as following:
A. Disconnect the fuel pump assembly harness connector (A).
B. Start the engine and wait until fuel in fuel line is exhausted. After the engine stalls, turn the ignition switch to OFF position.
C. Disconnect the negative (-) terminal from the battery.

4. Disconnect the fuel feed line (B) and the Fuel Tank Pressure Sensor (FTPS) connector (C).

CAUTION: Cover the hose connection with a shop towel to prevent splashing of fuel caused by residual pressure in the fuel line

5. Lift the vehicle.
6. Remove the main muffler.




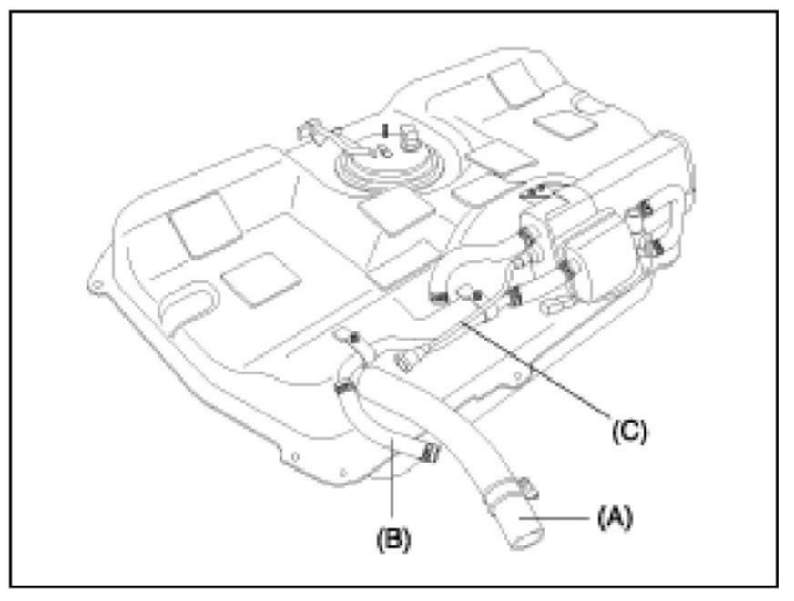
7. Disconnect the fuel filler hose (A), the canister drain hose (B) and the vapor tube (C).
8. Unfasten two fuel tank band mounting bolts, and then remove the fuel tank from the vehicle.