Curiosii for ever!: Car repair manuals for everyone.

Auto Lighting Control Unit

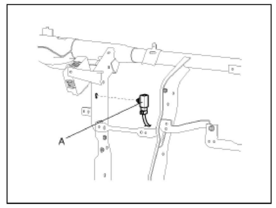
AUTO LIGHT UNIT




1. Remove the auto light unit (A) from the center support bracket left side after removing the center facia panel and audio unit.




2. Disconnect the 8P connector (B) from the auto light unit then inspect the connector on the wire harness side, as shown in the chart.
3. If the circuit is not as specified, inspect the circuits connected to other parts.