Curiosii for ever!: Car repair manuals for everyone.

Evaporator Temperature Sensor / Switch: Service and Repair

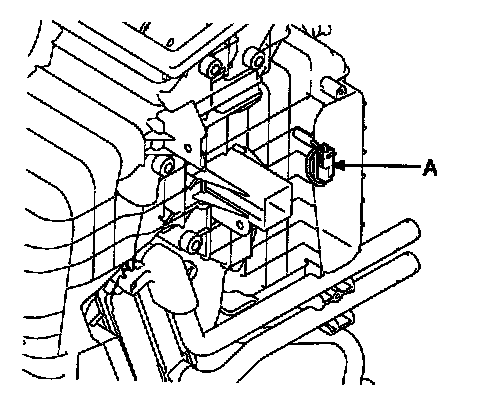
EVAPORATOR TEMPERATURE SENSOR

REPLACEMENT
1. Disconnect the negative (-) battery terminal.
2. Remove the crash pad.




3. Disconnect the evaporator sensor connector (A).




4. Remove the blower unit from the heater unit after loosening a mounting bolt & 3 screws.




5. Remove the evaporator sensor (A) from evaporator core by pulling out.

CAUTION: Take care that evaporator core pins are not bent.

6. Installation is the reverse order of removal.