Curiosii for ever!: Car repair manuals for everyone.

Removal and Installation







Removal


Installation

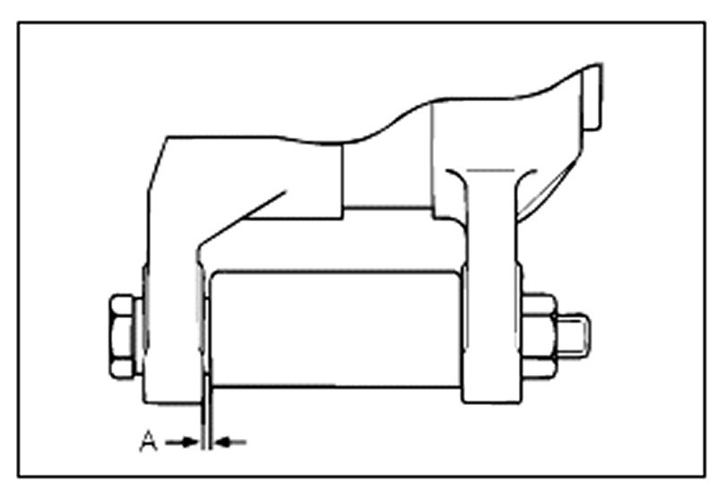
1. Place the alternator and insert a support bolt (Do not insert a nut at this time)






2. After pushing the alternator forward, count how many spacers (a spacer thickness is 0.198 mm) should be inserted between the alternator front leg and front case as shown in "A"



3. After inserting spacers, insert and tighten nut securely.