Curiosii for ever!: Car repair manuals for everyone.

Front

FRONT HUB/KNUCKLE





COMPONENTS

REMOVAL





1. Lift up the vehicle and remove the wheel and tire.
2. Disconnect the wheel speed sensor from the knuckle.
3. Disconnect the brake hose from the knuckle.
4. Remove the caliper assembly and suspend it with wire.





5. Remove the split pin and drive shaft nut from the front hub.





6. Remove the 2 bolts and disconnect the ball joint from the knuckle.





7. Using a plastic hammer, disconnect the drive shaft from the axle hub.





8. Using the special tool, disconnect the tie rod end from the knuckle.

NOTE:
1) Be sure to tie a cord to the special tool and to a nearby part.
2) Loosen the nut but do not remove it.





9. Loosen the upper arm mounting nut but do not remove it.
10. Using the special tool, disconnect the upper arm from the knuckle.
11. Remove the front axle and knuckle together.
12. Installation is reverse of removal.

DISASSEMBLY





1. Remove the brake disc from the hub.
2. Remove the snap ring.





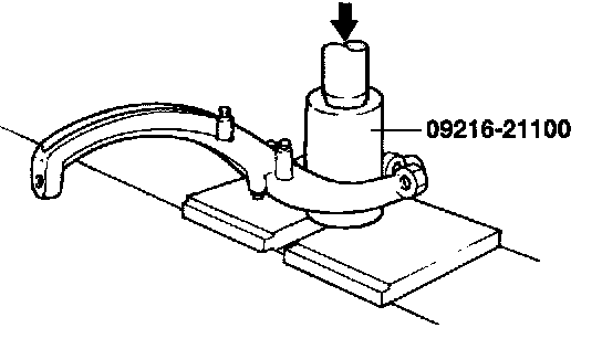
3. Using the special tool, disconnect the hub from the knuckle.





4. Using the special tool, remove the wheel bearing inner race from the hub.





5. Using the special tool, remove the wheel bearing outer race from the knuckle.

INSPECTION
1. Check the hub for cracks and splines for wear.
2. Check the snap ring for crack or damage.
3. Check the knuckle inner surface for scoring and cracks.

REASSEMBLY





1. Apply thin coat of multi-purpose grease to the knuckle and bearing contact surface.
2. Using the special tool, press-in the bearing to the knuckle.

NOTE:
1. Do not press the inner race of wheel bearing. That will cause damage Of the bearing assembly.
2. When installing bearing assembly, always use the new one.





3. Install the snap ring into the groove of knuckle.





4. Using the special tool, press-in the hub to the knuckle.

NOTE: Do not press the outer race of the wheel bearing. That will cause damage of the bearing assembly.





5. Tighten the hub to the knuckle to 200 Nm (2000 kg cm, 148 ft. lbs.) with the special tool.





6. Rotate the hub to seat the bearing.
7. Measure the wheel bearing starting torque.

Standard value:
Starting torque 1.8 Nm (18 kg cm, 16 ft. lbs.) or less





8. Measure to determine whether the end play of the hub is within the specified limit or not.

Standard value
Hub end play 0.008 mm (0.0003 inch) or less

9. Remove the special tool.
10. Install the disc to the hub.