Curiosii for ever!: Car repair manuals for everyone.

Oil Pump: Service and Repair

OIL PUMP CASE, OIL PUMP AND COUNTER BALANCE SHAFT






REMOVAL
1. Remove the timing belt.
2. Remove all the oil pan bolts.
3. Remove the oil pan.
4. Remove the oil screen and gasket.
5. Remove the relief plunger and gasket, and then take off the relief spring and relief valve from the oil filter bracket.





6. Remove the oil pressure switch.
7. Remove the oil filter bracket and gasket.





8. Using the special tool, remove the plug cap from the oil pump portion of front case.





9. Remove the left side of cylinder block plug and insert a screw driver with an 8 mm (0.32 inch) diameter shaft into plug hole. The screwdriver shaft must be inserted more than 60 mm (2.4 inch)





10. Remove the oil pump driven gear and left the counter balance shaft retaining bolt.





11. Remove the front case mounting bolts and remove the front case assembly and gasket. Remove the two counter balance shafts from the cylinder block.





12. Remove the oil pump cover from the front case.
13. Remove the oil pump gears from the front case.

INSPECTION
Front Case
1. Check oil holes for clogging and clean if necessary.
2. Check the counterbalance shaft front bearing section for wear, damage and seizure. If there is anything wrong with the section, replace the front case.
3. Check the front case for crack and other damage. Replace the cracked or damaged front case.

Counter Balance Shaft





Check journals for wear or seizure.
If excessive wear or seizure is evident, check the bearing carefully.
If necessary, replace the counter balance shaft bearing or both.

Oil Seal
1. Check the oil seal lip for wear and damage. Replace the oil seal if necessary.
2. Check the oil seal lip for deterioration. Replace the oil seal if necessary.





Oil Pressure Switch
1. If the "OIL PRESSURE" indicating lamp lights up when the ignition switch is "ON" and goes out when engine is started and runs at idle, everything is in order. If "OIL PRESSURE" lamp does not light when ignition switch is "ON" check switch, lamp and wiring.
2. If there is current flow when ignition switch is "ON" and if there is no current flow when engine is running at idle, the switch is good.
If the switch is good, check the lamp and wiring.
Oil pressure switch operation pressure 14.71 - 29.42 kPa (0.15 - 0.3 kg/cm2 2.1 - 4.3 psi)





3. Using 24mm deep socket, tighten the switch to the specified torque.
Tightening torque
Oil pressure switch and sender assy 8 - 12 Nm (80 - 120 kg.cm, 5.8 - 8.7 ft. lbs.)

Oil Pressure Sender Assy





1. Check the continuity between the terminal and the body with an ohmmeter.
If there is no continuity, replace the oil pressure switch.





2. Check the continuity between the terminal and the body when the fine wire is pushed. If there is continuity even when the fine wire is pushed, replace it.
3. Or, if there is no continuity when a 50 kPa (7 psi) vacuum is applied through the oil hole, the switch is operating properly. Check that air doesn't leak. If air leaks, the diaphragm is broken. Replace the switch.

Oil Pump
1. Assemble the oil pump gear to the front case and rotate it to ensure smooth rotation with no looseness.
2. Ensure that there is no ridge wear on the contact surface between the front case and gear surface of the oil pump cover.





3. With the drive and driven gears installed into the front case, measure the tip clearance of the gears.
[Standard value]
Drive gear 0.160 - 0.205 mm (0.0063 - 0.0081 inch)
Driven gear 0.180 - 0.205 mm (0.0071 - 0.0081 inch)
[Limit]
Drive gear 0.25 mm (0.0098 inch)
Driven gear 0.25 mm (0.0098 inch)





4. Check the side clearance.
[Standard value]
Drive gear 0.08 - 0.14 mm (0.0031 - 0.0055 inch)
Driven gear 0.06 - 0.12 mm (0.0024 - 0.0047 inch)
[Limit]
Drive gear 0.25 mm (0.0098 inch)
Driven gear 0.25 mm (0.0098 inch)

REPLACING COUNTER BALANCE SHAFT BEARING





1. Using a special tool, remove the right counter balance shaft front bearing from the cylinder block.





2. Using a special tool, remove the right counter balance shaft rear bearing from the cylinder block.





3. Using a special tool, remove the left counter balance shaft rear bearing from cylinder block. At this time, install special tool on the front surface of cylinder block to hold the bearing puller.





4. Using a special tool, install the left counter balance shaft rear bearing to the cylinder block.

NOTE:
1 Apply engine oil to the rear bearing outer circumference and bearing hole in cylinder block.
2 The left rear bearing has no oil holes.





5. Using a special tool, install the right counter balance shaft rear bearing to the cylinder block.

NOTE:
1 Apply engine oil to the outer surface of bearing.
2 Make sure that the bearing oil hole is aligned with the oil hole of cylinder block.





6. Using a special tool, install the right counterbalance shaft front bearing to the cylinder block.





NOTE: Make sure that the bearing oil hole is aligned with the oil hole of cylinder block.

INSTALLATION





1. Apply engine oil to the gear and align the two timing marks.





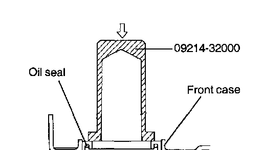
2. Using the special tool, Crankshaft Front Oil Seal Installer (09214-32000), install the crankshaft front oil seal into the front case.





3. Set the special tool (09214-32100) on the front end of crankshaft and apply a thin coat of engine oil to the outer circumference of the special tool to install the front case.





4. Install the front case assembly through a now front case gasket and temporarily tighten the flange bolts (other than those for tightening the filter bracket).





5. Install the front case assembly with anew gasket, and tighten the bolts to the specified torque.
Front case assembly Tightening torque
All except 20 - 27 Nm (200 - 270 kg.cm, 14 - 20 ft. lbs.)





6. Insert a screwdriver through plug hole in left side of cylinder block. After checking that the shaft is in position, tighten.
7. Install a new O-ring to the groove of front case.





8. Using a special tool, install the plug case and tighten to the specified torque.





9. Apply sealant into the groove of the pan flange as shown.

NOTE:
1) Apply sealant approx. 4 mm (0.16 inch) in thickness.
2) After application of sealant, do not exceed 15 minutes before installing the oil pan.





10. Note the difference in bolt lengths at the location shown. Install the oil pan and tighten the bolts to the specified torque.
Tightening torque
Oil pan bolt 10 - 12 Nm (100 - 120 kg.cm, 7 - 9 ft. lbs.)





11. Using the special tool, install the oil pressure switch after applying sealant to the threaded area.
Sealant Threebond 1104 or equivalent

NOTE: Do not torque the oil pressure switch excessively.

Tightening torque
Oil pressure switch 8 - 12 Nm (80 - 120 kg.cm, 6 - 8 ft. lbs.)