Curiosii for ever!
: Car repair manuals for everyone.
Home
>>
Kia
>>
1998
>>
Sephia RS Sedan L4-1.8L
>>
Repair and Diagnosis
>>
Starting and Charging
>>
Power and Ground Distribution
>>
Fuse Block
>>
Application and ID
>>
Fuse/Relay Box Information
>>
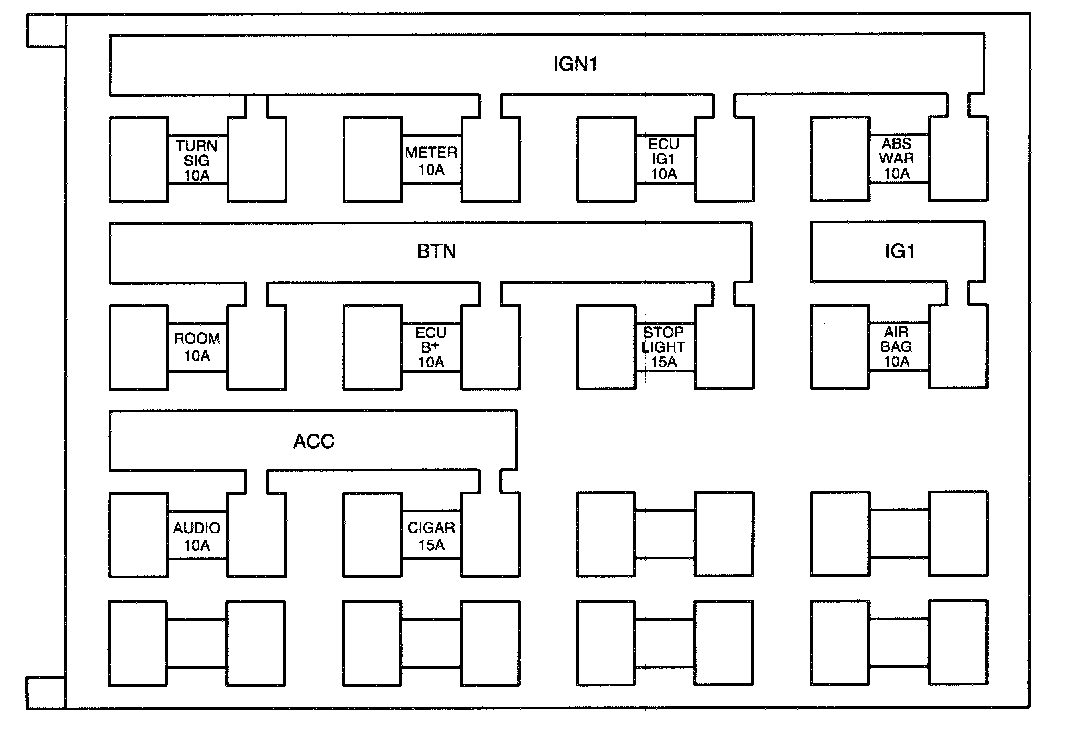
Passenger Compartment Fuse Box
Passenger Compartment Fuse Box