Curiosii for ever!: Car repair manuals for everyone.

Fuel Tank Pressure Sensor: Service and Repair





Inspection

1. Connect the GDS on the Data Link Connector (DLC).
2. Measure the output voltage of the FTPS.

Specification:Refer to "Specification"

Removal

1. Turn the ignition switch OFF and disconnect the battery negative (-) cable.
2. Remove the 2nd seat .
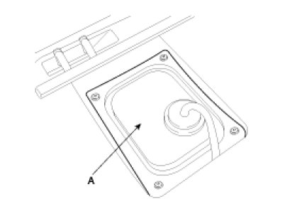
3. Remove the fuel pump service cover (A).




4. Disconnect the fuel tank pressure sensor connector (A).
5. Remove the fuel tank pressure sensor (B) after removing the nuts.






Installation

CAUTION:
- Note that internal damage may occur when the component is dropped. If the component has been dropped, inspect before installing.

CAUTION:
- Insert the sensor in the installation hole and be careful not to damage when installation.

1. Installation is reverse of removal.