Curiosii for ever!
: Car repair manuals for everyone.
Home
>>
Kia Truck
>>
2009
>>
Sorento 4WD V6-3.3L
>>
Repair and Diagnosis
>>
Diagrams
>>
Connector Views
>>
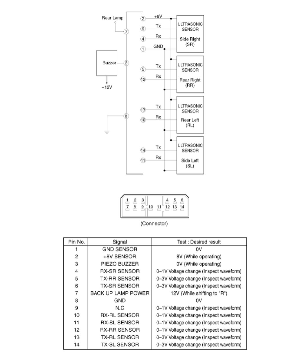
Parking Assist Control Module
Parking Assist Control Module
CIRCUIT DIAGRAM