Curiosii for ever!
: Car repair manuals for everyone.
Home
>>
Kia Truck
>>
2008
>>
Sorento 2WD V6-3.3L
>>
Repair and Diagnosis
>>
Powertrain Management
>>
Relays and Modules - Powertrain Management
>>
Relays and Modules - Computers and Control Systems
>>
Engine Control Module
>>
Testing and Inspection
>>
Pinout Values and Diagnostic Parameters
Pinout Values and Diagnostic Parameters
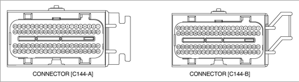
ENGINE CONTROL MODULE (ECM)
1.
ECM HARNESS CONNECTOR
2.
ECM TERMINAL FUNCTION
CONNECTOR [C144-A]
CONNECTOR [C144-B]
3.
ECM TERMINAL INPUT/OUTPUT SIGNAL
CONNECTOR [C144-A]
CONNECTOR [C144-B]