Curiosii for ever!: Car repair manuals for everyone.

Engine Control Module: Service and Repair

REPLACEMENT
1. Turn ignition switch off.
2. Disconnect the battery (-) cable from the battery.




3. Remove the resonator (A).




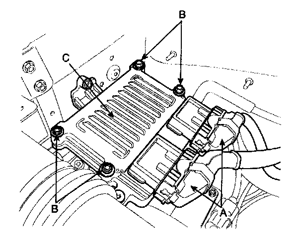
4. Disconnect the ECM connectors (A).
5. Unscrew the ECM mounting bolts (B) and remove the ECM from the bracket (C).
6. Install a new ECM

ECM installation bolts : 9.8 - 11.8 N.m (1.0 - 1.2 kgf.m, 7.2. 8.7 Ibf.ft)