Curiosii for ever!: Car repair manuals for everyone.

Communication With Scan Tool Is Not Possible. (Communication With ABS Only Not Possible)

Communication with Scan Tool is not possible. (Communication with ABS only is not possible)

Detecting Condition:





INSPECTION PROCEDURES

CHECK FOR CONTINUITY IN THE DIAGNOSIS LINE
1. Disconnect the connector from the ABS control module.
2. Check for continuity between terminals 11 of the ABS control module connector and 1 of the data link connector.

Is there continuity?

Yes
Check the power source of ABS control module.

No
Repair an open in the wire.

CHECK THE POWER SOURCE OF ABS CONTROL MODULE
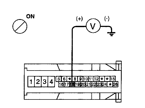
1. Disconnect the connector from the ABS control module.
2. Turn the ignition switch ON, measure the voltage between terminal 18 of the ABS control module harness side connector and body ground.

Specification: approximately B+

Is voltage within specification?

Yes
Check for poor ground.

No
Check the harness or connector between the fuse (10A) in the engine compartment junction block and the ABS control module.Repair if necessary.





CHECK FOR POOR GROUND
Check for continuity between terminal 5 of the data link connector and ground point.

Yes
Replace the ABS control module and recheck.

No
Repair an open in the wire or poor ground.