Curiosii for ever!
: Car repair manuals for everyone.
Home
>>
Kia Truck
>>
2002
>>
Sedona LX V6-3.5L
>>
Repair and Diagnosis
>>
Diagrams
>>
Connector Views
>>
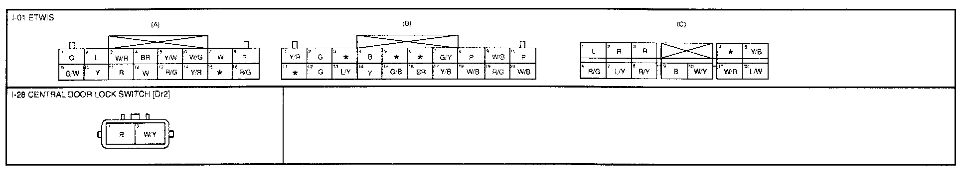
Timer/Control Unit, Accessory Control
Timer/Control Unit, Accessory Control
I-1a - ETWIS, Rear Room Lamp, Cargo Room Lamp Connectors:
I-1b - ETWIS, Keyless Entry System Connectors:
I-1c - ETWIS Connectors:
ETACS Terminal Configuration: