Curiosii for ever!: Car repair manuals for everyone.

Sentry Key Immobilizer Module (SKREEM) - Description






DESCRIPTION





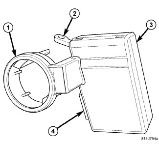
The Sentry Key REmote Entry Module (SKREEM) (3) (also known as the Sentry Key Immobilizer Module/SKIM or the Wireless Control Module/WCM) is the primary component of the Sentry Key Immobilizer System (SKIS). It is also the receiver for the Remote Keyless Entry (RKE) system and the Tire Pressure Monitor (TPM) system. The SKREEM is located on the right side of the steering column near the ignition lock cylinder housing and is concealed beneath the column shrouds. The molded black plastic housing for the SKREEM has an integral molded plastic halo-like antenna ring (1) that extends from one side. When the SKREEM is properly installed, the antenna ring is oriented around the circumference of the ignition lock cylinder housing.

A single integral connector receptacle (4) is located adjacent to the antenna ring on the SKREEM housing. An integral molded plastic mounting tab (2) on the SKREEM housing has a hole in the center through which a screw passes to secure the unit to the steering column lock housing. The SKREEM is connected to the vehicle electrical system through a single take out and connector of the instrument panel wire harness.

The SKREEM cannot be adjusted or repaired. If ineffective or damaged, the entire SKREEM unit must be replaced.