Curiosii for ever!: Car repair manuals for everyone.

Height Measurement






HEIGHT MEASUREMENT

FRONT CURB HEIGHT

NOTE: The suspension is non-adjustable.

The vehicle suspension height should be measured before performing wheel alignment procedure. Also when front suspension components have been replaced. This measure must be performed with the vehicle supporting it's own weight and taken on both sides of the vehicle.

Front and rear curb heights are not adjustable. The spring selections at assembly determine curb height for acceptable appearance of the vehicle. Curb height dimensions assume full fluids (including fuel) and zero passengers. Refer to the table below for front curb height dimensions.

Vehicle curb height audits should be performed utilizing the following procedure:

NOTE: Make sure the vehicle is in 2WD when checking curb height.





1. Bounce the front of the vehicle five times.
2. Measure and record the dimensions

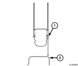
Front - On each side of the vehicle, measure the distance from the bottom of the jounce bumper cup (1) to the top lip of the inner spring seat on axle (2).





REAR CURB HEIGHT
Rear - On each side of the vehicle, measure the distance from the bottom of the jounce bumper cup (1) to the top (2) of the rear axle (3).

CURB HEIGHT SPECIFICATIONS






TOLERANCES