Curiosii for ever!: Car repair manuals for everyone.

Transmission Input Shaft - Assembly






ASSEMBLY










1. Place input shaft into shop press.
2. Install 3rd gear caged needle bearing (2).










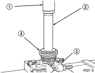
3. Install 3rd gear and 3-4 synchronizer (4) onto input shaft. Position Installer 6448A (2) over input shaft and press on synchronizer hub and 3rd gear. The synchronizer hub has the letter U stamped on the top face of the hub. This designates that the hub must be installed with the U facing upward.










4. Install a new 3-4 synchronizer snap ring into slot on input shaft.
5. Install blocking ring into 3-4 synchronizer. Install 4th gear caged needle bearing.
6. Install 4th gear onto input shaft.
7. Install 4-5 split thrust washer separation pin (1).










8. Install split thrust washer (2) onto input shaft (1).










9. Install split thrust washer retaining ring (1).










10. Install 5th gear caged needle bearing (2).










11. Using Installer 6448A (2), install 5th speed gear (5) and synchronizer (3). The 5th gear synchronizer hub has the letter S stamped on the top face of the hub. This designates that the hub must be installed with the S facing upward.










12. Install a new 5th gear synchronizer snap ring (4).