Installation
INSTALLATION
NOTE: If SCCM is already assembled and needs to be installed, bypass ASSEMBLY and proceed with SCCM STEP 1.
ASSEMBLY
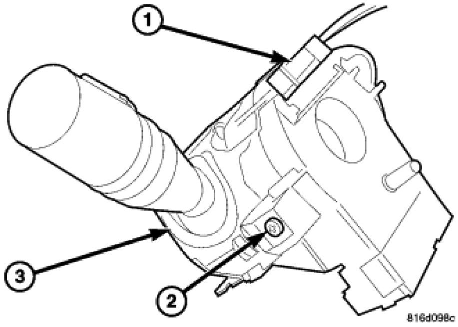
1. Connect the right stalk electrical connector.
2. Slide the right stalk into the groove and install the one retaining screw.
3. Connect the left stalk switch electrical connector.
4. Install the left stalk switch retaining screw.
SCCM
1. Position the SCCM (3) over the steering column shaft (2).
2. Install the three screws (1).
3. Connect the electrical connectors (2) to the instrument panel harness, ensure wiring is properly routed. Then check that the connectors, locking tabs are properly engaged.
4. Install steering column shrouds Installation. Be sure all wires are inside of shrouds.
5. Install steering wheel ensuring the flats on hub align with the clockspring Installation. Pull the airbag leads through the larger slot. Ensure leads do not get pinched under the steering wheel.
NOTE: There is a small wire harness in the steering wheel and it contains the horn circuits and speed control circuits.
6. Connect the speed control and horn wire connector into the clockspring.
7. Pull the grenade pin out of the clockspring.
8. Install the driver airbag, Driver Airbag - Installation
WARNING: Do not connect the battery negative cable Airbag System Verification Test. Personal injury or death may result if the system test is not performed first.