Curiosii for ever!: Car repair manuals for everyone.

Removal







REMOVAL

1. Before proceeding with the following repair procedure, review all warnings and cautions. Service Precautions
2. Remove rear view mirror, Rear View Mirror - Removal.
3. Remove the cowl grille, Cowl Top Panel - Removal.








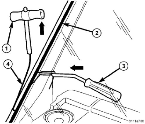
4. Using a windshield cut-out wire separate the adhesive.
5. Carefully remove windshield.