Curiosii for ever!: Car repair manuals for everyone.

Connecting Rod Bearing Fitting







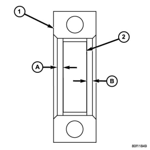
CONNECTING ROD BEARING FITTING





Inspect the connecting rod bearings for scoring (1) and (3). Check the bearings for normal wear patterns, scoring, grooving, fatigue and pitting. Replace any bearing that shows abnormal wear.

Inspect the connecting rod journals for signs of scoring, nicks and burrs.

Misaligned or bent connecting rods can cause abnormal wear on pistons, piston rings, cylinder walls, connecting rod bearings and crankshaft connecting rod journals. If wear patterns or damage to any of these components indicate the probability of a misaligned connecting rod, inspect it for correct rod alignment. Replace misaligned, bent or twisted connecting rods.





1. Wipe the oil from the connecting rod journal.
2. Lubricate the upper bearing insert (2) and position in connecting rod (1). Center bearing insert in connecting rod
3. Measure at point A and point B. Measurement should be less then 0.50 mm (0.0196 in.).




4. Use piston ring compressor (3) and Guide Pins Special Tool 8507 (4) to install the rod and piston assemblies. The oil slinger slots in the rods must face front of the engine. The "F"'s (1) near the piston wrist pin bore should point to the front of the engine.




5. Install the lower bearing insert in the bearing cap. Center bearing insert in connecting rod. The lower insert must be dry. Place strip of Plastigage (1) across full width of the lower insert at the center of bearing cap. Plastigage must not crumble in use. If brittle, obtain fresh stock.
6. Install bearing cap and connecting rod on the journal and tighten bolts to 27 Nm (20 ft. lbs.) plus a 90° turn. DO NOT rotate crankshaft. Plastigage will smear, resulting in inaccurate indication.
7. Remove the bearing cap and determine amount of bearing-to-journal clearance by measuring the width of compressed Plastigage (2). Refer to Engine Specifications for the proper clearance. Plastigage should indicate the same clearance across the entire width of the insert. If the clearance varies, it may be caused by either a tapered journal, bent connecting rod or foreign material trapped between the insert and cap or rod.
8. If the correct clearance is indicated, replacement of the bearing inserts is not necessary. Remove the Plastigage from crankshaft journal and bearing insert. Proceed with installation.
9. If bearing-to-journal clearance exceeds the specification, determin which services bearing set to use the bearing sizes are as follows:




CAUTION: Connecting Rod Bolts are Torque to Yield Bolts and Must Not Be Reused. Always replace the Rod Bolts whenever they are loosened or removed.

10. Repeat the Plastigage measurement to verify your bearing selection prior to final assembly.
11. Once you have selected the proper insert, install the insert and cap. Tighten the connecting rod bolts to 27 Nm (20 ft. lbs.) plus a 90° turn.




Slide snug-fitting feeler gauge between the connecting rod and crankshaft journal flange. Refer to Engine Specifications for the proper clearance. Replace the connecting rod if the side clearance is not within specification.