Removal
REMOVAL
SCCM
1. Place the front road wheels in the STRAIGHT-AHEAD position.
2. Open hood.
3. Disconnect and isolate the battery negative cable.
WARNING: Wait two minutes for the airbag system reserve capacitor to discharge before beginning any airbag system or component service. Failure to do so may result in accidental airbag deployment, personal injury or death.
4. Remove steering wheel.
5. Remove upper and lower steering column shrouds to gain access to the Steering Column Control Module (SCCM).
6. Lock the clockspring rotor in the center position as follows: Insert a grenade pin through the hole in the rotor at the 10 o'clock position.
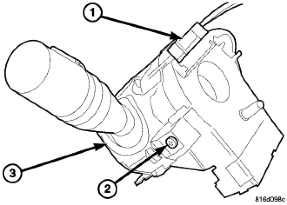
7. Remove the three screws (1) to the Steering Column Control Module (SCCM) (3).
8. Disconnect the electrical connectors (2) between the SCCM (1) and the instrument panel wiring harness at the base of the SCCM and remove from column.
NOTE: If only removing the SCCM from column, there is no need to continue to next step.
DISASSEMBLY
1. Remove the left multi-function switch stalk retaining screw (2).
2. Pull the left stalk out of the SCCM.
3. Disconnect the left stalk electrical connector.
4. Separate the left switch from the SCCM.
5. Remove the one right multi-function switch retaining screw.
6. Pull right switch out of SCCM.
7. Disconnect the right switch electrical connector.