Curiosii for ever!: Car repair manuals for everyone.

Connector Views




Component ID: 165
Component : MODULE-POWERTRAIN CONTROL

Connector:
Name : MODULE-POWERTRAIN CONTROL C1
Color : BLACK
# of pins : 58
Qualifier : (GAS)




Pin Description Circuit
1 FUSED MAIN RELAY OUTPUT F342 14BR/DG
Pin Description Circuit
1 FUSED MAIN RELAY OUTPUT F342 14BR/WT
2 GROUND Z925 16BK/YL
3 FUSED MAIN RELAY OUTPUT F342 14BR/DG
3 FUSED MAIN RELAY OUTPUT F342 14BR/WT
4 GROUND Z925 16BK/YL
5 - -
6 - -
7 O2 1/2 HEATER CONTROL K299 20BR/RD
8 - -
9 - -
10 - -
11 - -
12 - -
13 S/C SWITCH GROUND V937 20VT/LG
14 - -
15 IGNITION SWITCH OUTPUT (RUN-START) F202 20PK/GY
16 FUSED B(+) A931 20RD/WT
17 - -
18 - -
19 FUEL PUMP CONTROL K31 20BR
20 O2 1/2 RETURN K904 20DB/DG
21 O2 1/2 SIGNAL K141 20DB/YL
22 5 VOLT SUPPLY K858 20BR/GY
23 5 VOLT SUPPLY F856 20YL/PK
24 - -
25 STARTER CONTROL T752 20DG/OR
26 S/C SIGNAL 2 V72 20OR/VT
27 S/C SIGNAL 1 V71 20VT/OR
28 - -
29 - -
30 SENSOR GROUND K914 20DB/PK
31 - -
32 BRAKE SIGNAL 1 B15 20DG/WT
33 - -
34 APP SENSOR GROUND 2 K400 20BR/VT
35 EVAP PURGE RETURN K70 20DB/BR
36 APP SENSOR GROUND 1 K167 20BR/YL
37 START ENABLE F963 20PK/DB
38 VEHICLE SPEED SIGNAL K75 20DB/OR
39 EVAP PURGE CONTROL K52 20DB/WT
40 - -
41 CAN C BUS (+) D65 20WT/BK
42 - -
43 - -
44 - -
45 - -
46 - -
47 ESM SIGNAL K107 20VT/WT
48 APP SIGNAL 2 K29 20WT/BR
49 APP SIGNAL 1 K23 20BR/OR
50 CLUTCH INTERLOCK SIGNAL T141 20YL/RD
51 - -
52 BRAKE SIGNAL 2 B16 20LB/DG
53 GEN SENSE A804 20RD/GY
54 CAN C BUS (-) D64 20WT/LB
55 - -
56 - -
57 - -
58 MAIN RELAY CONTROL K51 20BR/LG
58 MAIN RELAY CONTROL K51 20BR/WT

Component Location - 14




Component Location - 16




Component Location - 8






Connector:
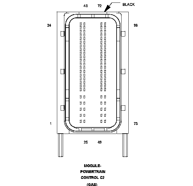
Name : MODULE-POWERTRAIN CONTROL C2
Color : BLACK
# of pins : 96
Qualifier : (GAS)




Pin Description Circuit
1 ETC MOTOR (+) K124 20DB/GY
2 - -
3 - -
4 - -
5 - -
6 A/C COMPRESSOR CONTROL C27 20LB/WT
7 - -
8 IAT SIGNAL K21 20BK/RD
9 - -
10 - -
11 ECT 2 SIGNAL K222 20BR/YL
12 - -
13 - -
14 - -
15 - -
16 - -
17 - -
18 - -
19 - -
20 - -
21 INJECTOR 3 CONTROL K13 20BR/LB
22 INJECTOR 4 CONTROL K14 20BR/TN
23 INJECTOR 1 CONTROL K11 20YL/BR
24 INJECTOR 2 CONTROL K12 20BR/DB
25 ETC MOTOR (-) K126 20DB/LG
26 - -
27 MFV CONTROL K601 20BR/VT
28 - -
29 - -
30 - -
31 - -
32 - -
33 O2 1/1 SIGNAL K41 20BK/DG
34 - -
35 - -
36 O2 1/1 RETURN K902 20BR/DG
37 EOT SIGNAL G24 20VT/BR
38 CMP 1/2 SIGNAL K441 20DB/BR
39 - -
40 - -
41 5 VOLT SUPPLY F855 20PK/YL
42 5 VOLT SUPPLY K857 20BR/LG
43 - -
44 - -
45 - -
46 - -
47 - -
48 - -
49 O2 1/1 HEATER CONTROL K99 20BR/OR
50 - -
51 GEN FIELD CONTROL K20 20BR/GY
52 - -
53 - -
54 - -
55 - -
56 - -
57 CMP 1/1 SIGNAL K44 20DB
58 SENSOR GROUND K915 20BR/WT
59 - -
60 - -
61 - -
62 TP SENSOR GROUND K922 20BR
63 TP SIGNAL 2 K122 20DG/BR
64 TP SIGNAL 1 K22 20OR/BR
65 KS RETURN K942 20WT/BR
66 - -
67 - -
68 - -
69 - -
70 CMP 1/1 CONTROL K76 20LB/WT
71 - -
72 CMP 1/2 CONTROL K276 20DB/WT
73 COIL 4 CONTROL K15 18GY/DB
74 COIL 3 CONTROL K18 18DB/OR
75 COIL 2 CONTROL K17 18DB/TN
76 COIL 1 CONTROL K19 18DB/LB
77 - -
78 - -
79 CKP SIGNAL K24 20BR/LB
80 - -
81 - -
82 SENSOR GROUND K900 20DB/DG
83 ECT 1 SIGNAL K2 20VT/OR
84 MFV SIGNAL K602 20YL/DB
85 MAP SIGNAL K1 20VT/LB
86 EOP SIGNAL G6 20VT/GY
87 - -
88 KS SIGNAL K42 20LG/DB
89 - -
90 - -
91 - -
92 - -
93 - -
94 - -
95 - -
96 - -

Component Location - 14




Component Location - 16




Component Location - 8