Curiosii for ever!: Car repair manuals for everyone.

Removal






REMOVAL




1. Before proceeding with the following repair procedure, review all warnings and cautions.

2. Remove the rear view mirror.

3. Remove the rain sensor module from the windshield.

4. Remove the cowl grille.

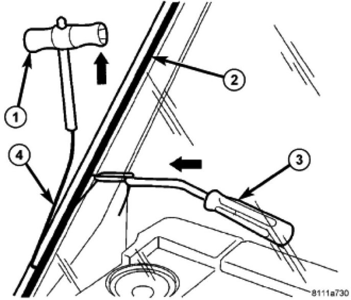
CAUTION: Be careful not to damage painted surfaces when removing moldings or cutting urethane around the windshield.

5. Remove molding from the top of the windshield.

6. Using an assistant and a wire-type windshield cut-out tool (1, 3 and 4), cut and separate the urethane adhesive (2) securing the windshield to the windshield fence.

7. Carefully remove the windshield from the vehicle.