Curiosii for ever!: Car repair manuals for everyone.

Transmission Position Sensor/Switch: Description and Operation

CONTACT-TEMPERATURE SENSOR/PARK-NEUTRAL

DESCRIPTION
PARK/NEUTRAL CONTACT





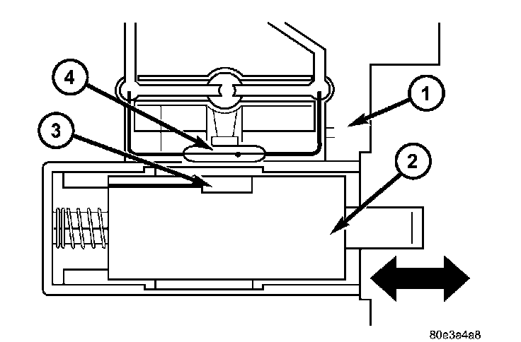
The park/neutral contact (4) is located in the shell of the electric control unit and is fixed to the conductor tracks.
Its purpose is to recognize selector valve and selector lever positions "P" and "N". The park/neutral contact consists of:
- the plunger (2).
- the permanent magnet (3).
- the dry-reed contact (4).

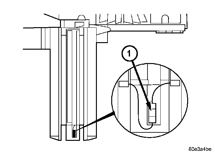
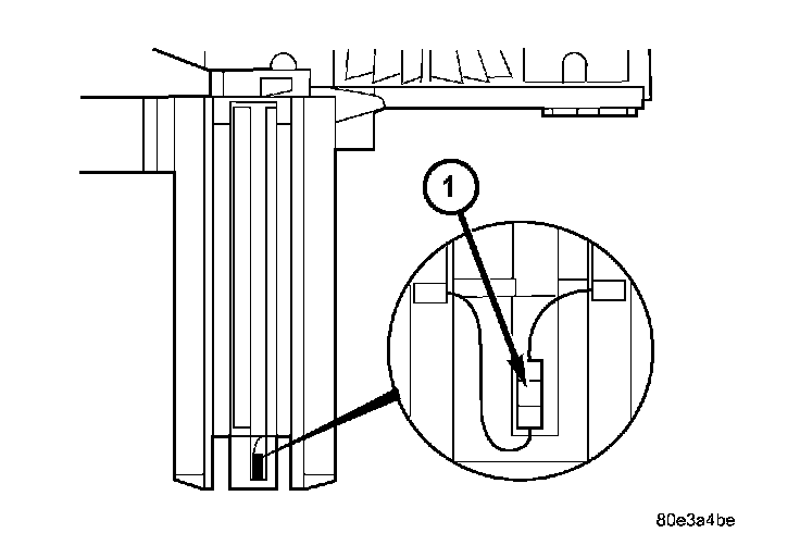
TRANSMISSION TEMPERATURE SENSOR





The transmission oil temperature sensor (1) is located in the shell of the electric valve control unit and is fixed to the conductor tracks.
Its purpose is to measure the temperature of the transmission oil and pass the temperature to the TCM as an input signal. It is a temperature-dependent resistor (PTC).

OPERATION
PARK/NEUTRAL CONTACT





In selector lever positions "P" and "N" the park/neutral contact (4) is actuated by a cam track which is located on the detent plate. The permanent magnet (3) is moved away from the dry-reed contact (4). The dry-reed contact (4) is opened. The TCM receives an electric signal. The circuit to the starter in the selector lever positions "P" and "N" is closed.

TRANSMISSION TEMPERATURE SENSOR





The temperature of the transmission oil has a considerable effect on the shifting time and therefore the shift quality By measuring the oil temperature, shift operations can be optimized in all temperature ranges. The transmission oil temperature sensor (1) is switched in series with the park/neutral contact. The temperature signal is transferred to the TCM only when the dry-reed contact of the park/neutral contact is closed in REVERSE or a forward gear position.





Refer to the Transmission Temperature Sensor Specifications table for the relationship between transmission temperature, sensor voltage, and sensor resistance.