Curiosii for ever!: Car repair manuals for everyone.

Control Module: Service and Repair





Transmission Control Module (TCM) and Main Control Valve Body

Equipment
Anti-Static Wrist Strap

Removal
1 Remove the fluid pan, gasket and filter. For additional information, refer to Fluid Pan, Gasket and Filter Service and Repair




2
CAUTION: Make sure the transmission control module (TCM) and main control valve body are protected against electrostatic discharge. Failure to follow this instruction may result in component damage.
Reposition the locking device.




3 Disconnect the TCM and main control valve body electrical connector.
Reposition the electrical connector retaining ring.
Disconnect the electrical connector.




4
CAUTION: Make sure all suitable safety precautions are taken to protect the TCM and main control valve body electrical connector pins against electrostatic discharge.
Remove the sealing tube.




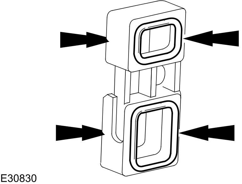
5 Remove and discard the seals.




6 Remove the TCM and main control valve body.
- Remove the retaining bolts.




7 Remove the TCM and main control valve body sealing block.




8 Remove and discard the seals.




9 Remove and discard the seals.

Installation





1 Install the new seals.




2 Install the new seals.




3 Install the TCM and main control valve body sealing block.




4
CAUTION: Make sure the TCM and main control valve body are protected against electrostatic discharge. Failure to follow this instruction may result in component damage.
Align the transmission selector shaft to the TCM and main control valve body.




5 Install the TCM and main control valve body retaining bolts.
- Tighten to 8 Nm.




6 Install the new seals.




7
CAUTION: Make sure all suitable safety precautions are taken to protect the TCM and main control valve body electrical connector pins against electrostatic discharge.
Install the sealing tube.




8 Reposition the TCM and main control valve body electrical connector retaining ring.
Connect the electrical connector.
Reposition the electrical connector retaining ring.




9 Reposition the locking device.

10 Install the fluid pan, gasket and filter. For additional information, refer to Fluid Pan, Gasket and Filter Service and Repair