Curiosii for ever!: Car repair manuals for everyone.

General Service Information



General Service Information

Repairs and Replacements
When service parts are required, it is essential that only genuine Jaguar/Daimler replacements are used.

Attention is drawn to the following points concerning repairs and the installation of replacement parts and accessories:
- Safety features embodied in the vehicle may be impaired if other than genuine parts are installed. In certain territories, legislation prohibits the installation of parts which are not produced to the vehicle manufacturer's specification.
- Torque wrench setting figures given in this manual must be strictly adhered to. Locking devices, where specified, must be installed. If the efficiency of a locking device is impaired during removal it must be renewed.
- Owners purchasing accessories while travelling abroad should make sure that the accessory and its installed location on the vehicle conform to mandatory requirements existing in their country of origin.
- The vehicle warranty may be invalidated by the installation of other than genuine Jaguar/Daimler parts. All Jaguar/Daimler replacements have the full backing of the factory warranty.
- Jaguar/Daimler dealers are obliged to supply only genuine service parts.

Vehicle Specifications
Purchasers are advised that the specification details set out in this manual apply to a range of vehicles and not to any specific one. For the specification of a particular vehicle, purchasers should consult their dealer.

The Manufacturer reserves the right to vary the specifications, with or without notice, and at such times and in such manner as the Manufacturer thinks fit. Major as well as minor changes may be involved, in accordance with the Manufacturer's policy of continuous improvement.

Whilst every effort is made to make sure the accuracy of the particulars contained in this manual, neither the Manufacturer nor the Dealer, by whom the manual is supplied, shall in any circumstances be held liable for any inaccuracy or the consequences thereof.

Service Repair Operation Numbering
A master index of numbered operations has been compiled for universal application to all vehicles manufactured by Jaguar Cars Ltd.

Each operation is allocated a number from the master index and cross-refers with an identical number in the Repair Operation Times schedule. The number consists of six digits arranged in three pairs.

Each maintenance procedure in this manual is described in the sequence necessary to complete the operation in the minimum time, as specified in the Repair Operation Times schedule.

References to Bank-1 and Bank-2
References to Bank-1 and Bank-2 are made with regard to the engine. When viewed from the flywheel the right-hand bank will be Bank-1 and the left-hand bank will be Bank-2.

Special Tools
Any special tools and equipment required to perform a maintenance procedure, are shown at the beginning of each procedure. When possible, illustrations are given to assist in identifying the tool needed.

Disconnecting/Connecting the Battery
Always stop the engine before disconnecting the battery negative lead and make sure the battery positive lead is isolated i.e. wrapped in a suitable cloth.

WARNING: Radio code saving devices must not be used when conducting work on Air Bag or Fuel systems. It must be noted that, when using these devices, the vehicle electrical system is still live albeit with a reduced current flow.

NOTE: Before disconnecting the battery make sure that the radio receiver/cassette player/mini disc player and compact disc player keycodes are known and, that no data is required from the Engine Control Module (ECM) as battery disconnection will erase any fault codes and idle/drive values held in the Keep Alive Memory (KAM).

Always disconnect the battery before commencing repair operations which require:
- The vehicle to be jacked up
- Work on the engine
- Work underneath the vehicle
- Arc welding

Alternatively a Radio Code Saver may be used, when not working on the Air Bag or Fuel systems. With the battery disconnected, a Radio Code Saver will allow sufficient current to pass to maintain the radio receiver/cassette player/mini disc player and compact disc player memory, operate the clock and supply the door operated interior lights while isolating the battery in the event of a short circuit.

Reconnecting the Battery

WARNING: If the battery has been on bench charge the cells may be giving off explosive hydrogen gas. Avoid creating sparks, and if in doubt cover the vent plugs or covers with a damp cloth.

Always make sure that all electrical systems are switched OFF before reconnecting the battery to avoid causing sparks or damage to sensitive electrical equipment.

Always reconnect the battery positive lead first and the negative last, ensuring that there is a good electrical contact and the battery terminals are secure.

Restart the clock (where installed) and set it to the correct time.

Enter the radio receiver/cassette player/mini disc player and compact disc player keycodes and preset' frequencies, if known.

Following reconnection of the battery, the engine should be allowed to idle until it has reached normal operating temperature as the stored idle and drive values contained within the ECM have been lost. Allow the vehicle to idle for a further three minutes. Drive the vehicle at constant speeds of approximately 48 km/h (30 mph), 64 km/h (40 mph), 80 km/h (50 mph), 96 km/h (60 mph) and 112 km/h (70 mph) for three minutes each. This will allow the ECM to relearn idle and drive values, and may cause driveability concerns if the procedure is not carried out.

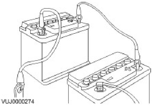
Connecting a Slave Battery Using Jump Leads

WARNING: If the slave battery has recently been charged and is gassing, cover the vent plugs or covers with a damp cloth to reduce the risk of explosion should arcing occur when connecting the jump leads.

CAUTION:
- A discharged battery condition may have been caused by an electrical short circuit. If this condition exists there will be an apparently live circuit on the vehicle even when all circuits are switched off. This can cause arcing when the jump leads are connected.
- Whilst it is not recommended that the vehicle is jump started, it is recognized that this may occasionally be the only practical way to mobilize a vehicle. In such an instance the discharged battery must be recharged immediately after jump starting to avoid permanent damage.

- Always make sure that the jump leads are adequate for the task. Heavy duty cables must be used.
- Always make sure that the slave battery is of the same voltage as the vehicle battery. The batteries must be connected in parallel.
- Always make sure that switchable electric circuits are switched off before connecting jump leads. This reduces the risk of sparks occurring when the final connection is made.







WARNING: Make sure that the ends of the jump leads do not touch each other or ground against the vehicle body at any time while the leads are attached to the battery. A fully charged battery, if shorted through jump leads, can discharge at a rate well above 1000 amps causing violent arcing and very rapid heating of the jump leads and terminals, and can even cause the battery to explode.


Always connect the jump leads in the following sequence.
- Slave battery positive first then vehicle battery positive.
- Slave battery negative next and then vehicle ground at least, 300 mm (12 in)from the battery terminal e.g. engine lifting bracket.

Always reduce the engine speed to idle before disconnecting the jump leads.

Before removing the jump leads, switch on the heater blower (high) or the heated rear screen, to reduce the voltage peak when the leads are removed.

Always disconnect the jump leads in the reverse order to the connecting sequence and take great care not to short the ends of the leads.

Do not rely on the generator to restore a discharged battery. For a generator to recharge a battery, it would take in excess of 8 hours continuous driving with no additional loads placed on the battery.

Component Cleaning
To prevent ingress of dirt, accumulations of loose dirt and greasy deposits should be removed before disconnecting or dismantling components or assemblies.

Components should be thoroughly cleaned before inspection prior to reassembly.

Cleaning Methods:
- Dry Cleaning
- Removal of loose dirt with soft or wire brushes
- Scraping dirt off with a piece of metal or wood
- Wiping off with a rag

CAUTION: Compressed air is sometimes wet so use with caution, especially on hydraulic systems.

- Blowing dirt off with compressed air (Eye protection should be worn when using this method)
- Removal of dry dust using vacuum equipment. This method should always be used to remove friction lining material dust (asbestos particles)
- Steam Cleaning

Calibration of Essential Measuring Equipment

WARNING: Failure to comply may result in personal injury or damage to components.

It is of fundamental importance that certain essential equipment e.g. torque wrenches, multimeters, exhaust gas analysers, rolling roads etc., are regularly calibrated in accordance with the manufacturers instructions.

Use of Control Modules
Control modules may only be used on the vehicle to which they were originally installed. Do not attempt to use or test a control module on any other vehicle.

Functional Test
On completion of a maintenance procedure, a thorough test should be carried out, to ensure the relevant vehicle systems are working correctly.

Preparation
Before disassembly, clean the surrounding area as thoroughly as possible. When components have been removed, blank off any exposed openings using grease-proof paper and masking tape. Immediately seal fuel, oil and hydraulic lines when separated, using plastic caps or plugs, to prevent loss of fluid and the entry of dirt. Close the open ends of oil ways, exposed by component removal, with tapered hardwood plugs or readily visible plastic plugs. Immediately a component is removed, place it in a suitable container; use a separate container for each component and its associated parts. Before dismantling a component, clean it thoroughly with a recommended cleaning agent; check that the agent will not damage any of the materials within the component. Clean the bench and obtain marking materials, labels, containers and locking wire before dismantling a component.

Dismantling
Observe scrupulous cleanliness when dismantling components, particularly when parts of the brake, fuel or hydraulic systems are being worked on. A particle of dirt or a fragment of cloth could cause a dangerous malfunction if trapped in these systems. Clean all tapped holes, crevices, oil ways and fluid passages with compressed air.

WARNING: Do not permit compressed air to enter an open wound. Always use eye protection when using compressed air.

Make sure that any O-rings used for sealing are correctly reinstalled or renewed if disturbed. Mark mating parts to make sure that they are replaced as dismantled. Whenever possible use marking materials which avoid the possibilities of causing distortion or the initiation of cracks, which could occur if a center punch or scriber were used. Wire together mating parts where necessary to prevent accidental interchange (e.g roller bearing components). Tie labels on to all parts to be renewed and to parts requiring further inspection before being passed for reassembly. Place labelled parts and other parts for rebuild in separate containers. Do not discard a part which is due for renewal until it has been compared with the new part, to make sure that the correct part has been obtained.

Inspection
Before inspecting a component for wear or performing a dimensional check, make sure that it is absolutely clean; a slight smear of grease can conceal an incipient failure. When a component is to be checked dimensionally against figures quoted for it, use the correct equipment (surface plates, micrometers, dial gauges etc.) in serviceable condition. The use of makeshift equipment can be dangerous. Reject a component if its dimensions are outside the limits quoted, or if damage is apparent. A component may be reinstalled if its critical dimension is exactly to the limit size and it is otherwise satisfactory. Use Plastigauge 12 Type PG-1 for checking bearing surface clearance, e.g. big end bearing shell to crank journal. Instructions for the use of Plastigauge and a scale giving bearing clearances in steps of 0,0025 mm (0.0001 in) are supplied with the package.

On-Board Diagnostics (OBD)
This vehicle uses programmed electronic control systems to provide engine management and emission regulation, automatic transmission operation and anti-lock braking control. These control systems are integral with the On-Board Diagnostics (OBD) facility that is used in conjunction with either the Jaguar approved diagnostic system or the more restricted scan tools.

The OBD information in this manual provides diagnostic and rectification procedures for emission related electrical and mechanical systems. The information is intended to facilitate fault diagnosis and the subsequent rectification of the vehicle without recourse to the Jaguar approved diagnostic system.

The diagnosis and testing sections within the manual cover:
- System principles of operation with links to the relevant Description and Operation sections
- Self tests (where appropriate)
- Inspection and Verification - manual checks, symptom and Diagnostic Trouble Code (DTC) driven diagnostic charts with actions required to rectify concerns
- Component tests (where appropriate)

Circuit Diagrams
To understand the relationship between the vehicle electrical system and the system circuit diagrams, Refer to the Electrical Guide.

In the interest of clarity, single lines may represent multiple wires. Refer to the color code (1st alpha) followed by the wire reference (numeric/alpha/numeric) to trace origin and destination.

e.g. BW 647B002. BW (black with white trace) 647 (wire reference) B002 (stage from origin).

Glossary of Terms
This glossary of terms is intended to cover mainly emissions-related (to SAE J 1930) terminology, and other abbreviations that may be used in this manual.

The required term may be looked-up in the left-hand column, and subsequent columns give the standard acronym, unit or abbreviation, and definition.