Curiosii for ever!
: Car repair manuals for everyone.
Home
>>
Jaguar
>>
2005
>>
XJ (X350) V8-4.2L SC
>>
Repair and Diagnosis
>>
Diagrams
>>
Exploded Views
>>
Automatic Transmission/Transaxle
Automatic Transmission/Transaxle
J-Gate Range Selection
Torque converter
Gear Ratio
Single Planetary Gearset
Double Planetary Gearset
Shift Elements
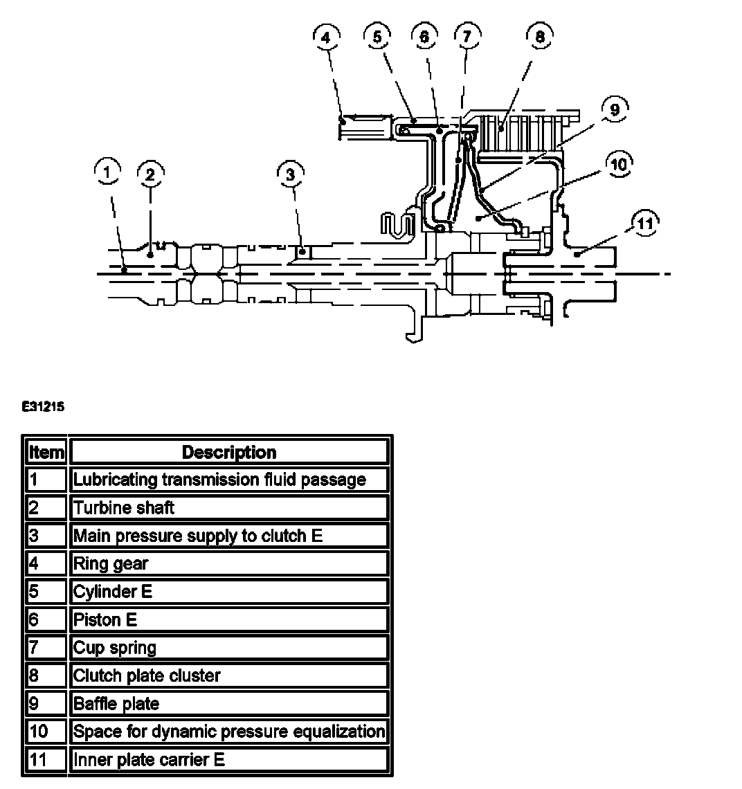
Multi Plate Clutch
Fluid Pump
Transmission Control Module (TCM) and Main Control Valve Body