Curiosii for ever!: Car repair manuals for everyone.

Front


Seat - Front 76.70.10

Removal
1. Position the seat as rearward as possible to aid removal of the seat.







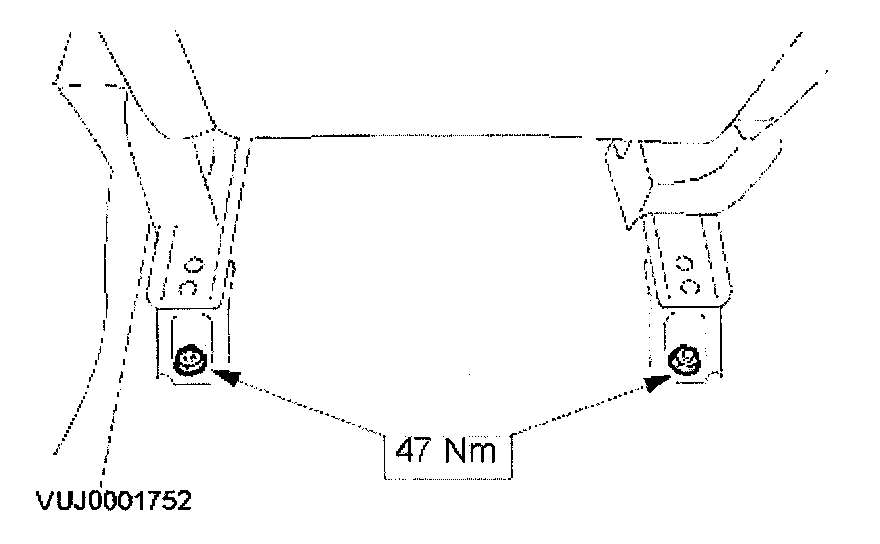
2. Remove the front bolt and washer.
3. Move the seat as far forward as possible to aid removal of rear nuts.







4. Remove the seat mounting feet trim covers.
1. Detach the front cover from the seat track.
2. Detach the rear cover from the seat track.
3. Remove the trim covers.







5. Remove the rear nuts.
6. Disconnect the battery ground cable.







7. Disconnect the seat electrical connectors.
- Tilt the seat forward to aid disconnection of the electrical connectors.







8. Remove the seat outer trim panel.







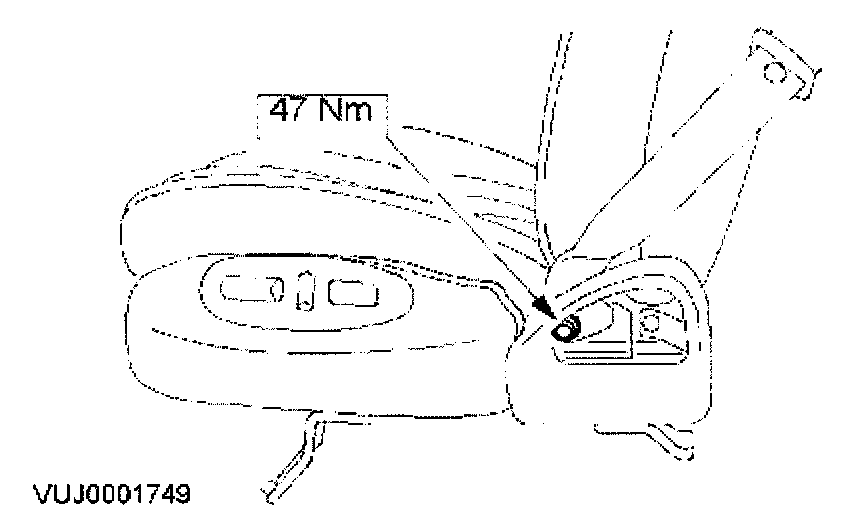
9. Detach the safety belt lower anchor.







10. CAUTION: Make sure not to snag or damage the seat or the trim panels when the seat is removed.


CAUTION: When lifting the seat care must be taken not to load/damage the fore/aft travel track located below the seat cushion.



Remove the seat.

Installation







1. To install, reverse the removal procedure.