Curiosii for ever!: Car repair manuals for everyone.

Air Flow Meter/Sensor: Testing and Inspection

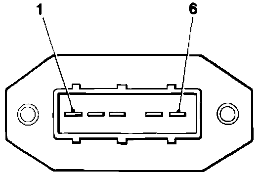
Mass Air Flow Sensor Connector:





With the engine fully warm, be sure that the MIL is not illuminated.

Test 1: Run the engine at normal idle speed in neutral.
Using a suitable Digital Volt Meter (DVM) measure the MAFS output voltage.
Positive lead Pin 3
Negative lead ground Pin 1 or 2

Voltage 1.10 to 1.40 Volts

Test 2: This test requires an assistant.

CAUTION: This test MUST NOT last longer than 5 seconds. Always allow the engine to idle for at least two minutes between tests to allow the transmission to cool. Do not carry out more than three tests without allowing the engine to cool down for at least half an hour.

Chock the road wheels and firmly apply both foot and handbrake.
Engine conditions as test 1.
Engage D", apply full throttle and note MAFS Output voltage at pin 3.

Voltage 3.00 to 3.30 Volts

A second MAFS should be used as a comparison before the MAFS under test is rejected.

Note: The voltage readings given above are typical for an engine in good condition. Altitude and/or barometric conditions will affect the readings obtained.