Curiosii for ever!: Car repair manuals for everyone.

Exhaust Gas Recirculation: Description and Operation

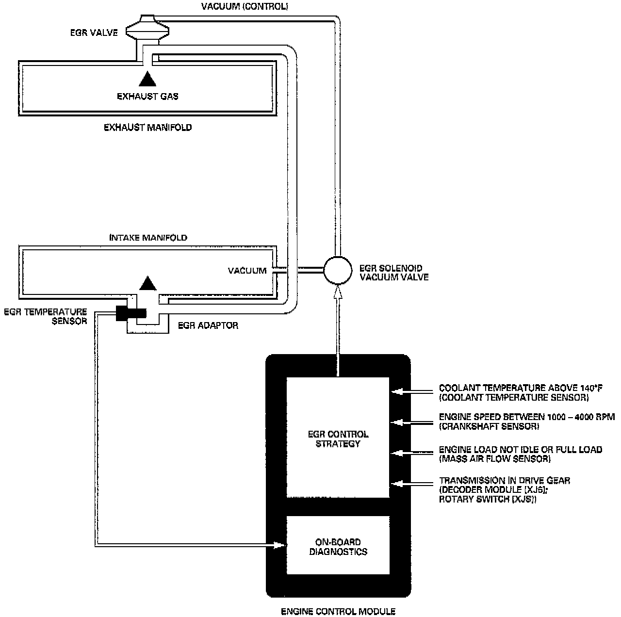
EGR Operation:





EGR is used to reduce the "oxides of nitrogen" (NOx) in the exhaust during periods of high engine combustion temperatures (high loads and engine speeds). The introduction of exhaust gas into the combustion chambers lowers the peak combustion temperature by reducing the volume of air/fuel mixture to be combusted.

Operating Envelope:





The ECM both controls and monitors the operation of the system. EGR is enabled by the ECM when the following conditions exist:
- The engine coolant temperature exceeds 60°C (140°F).
- The engine is within a load/speed envelope that excludes idle and full load in the engine speed range 1000-4000 rpm.
- The transmission is in a driving gear (not P or N).

The ECM controls EGR by switching the EGR solenoid vacuum valve, which in turn, controls vacuum application to the EGR valve. The vacuum operated EGR valve controls the flow of exhaust gases between the exhaust and intake manifolds. Flow through the valve is proportional to exhaust back pressure, which is itself proportional to engine load. Vacuum is applied to the EGR valve via the ECM switched solenoid vacuum valve.

The ECM monitors its output to the EGR solenoid vacuum valve for on-board diagnostics.

The temperature of the exhaust gas flow to the intake manifold is also monitored by the ECM for on-board diagnostics. Monitoring takes place over a load/speed range within the EGR operational envelope.