Curiosii for ever!: Car repair manuals for everyone.

Cabin Temperature Sensor / Switch: Service and Repair


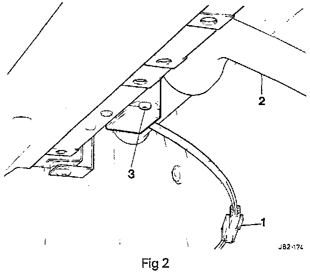
In Car Temperature Sensor

REMOVAL
1. Open the bonnet and disconnect the battery earth lead.
2. Open the glove box and remove the plate from inside the glove box.





3. Disconnect the temperature sensor cable harness multi-plug connector (1).
4. Disconnect the rubber tube from the sensor assembly (2).
5. Remove the screws securing the sensor assembly and remove the assembly (3).
6. Remove the screws securing the sensor to the sensor housing and remove the sensor.

NOTE: Installation is the reverse of the removal procedure.