Curiosii for ever!: Car repair manuals for everyone.

Front Door Window Glass: Service and Repair



Removing

- Open the bonnet and disconnect the battery.

- Remove the door trim casing and the front door crash rail. Service and Repair

- Remove the door outer weather strip.





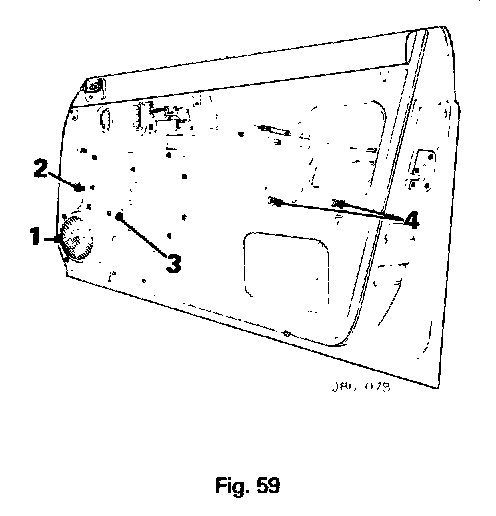
- Remove the door speaker (1, Fig. 59).

- Remove the screws securing the window lift motor mounting plate (2, Fig. 59) and remove the stop peg (3, Fig. 59) from the mounting plate.

- Remove the window lower channel securing bolts.

- Remove the distance piece from the rear of the mounting plate.

- Remove the regulator outer slide channel securing bolts (4, Fig. 59) and remove the channel.

- Remove the motor from the mounting plate and disconnect the electrical feed cables.





- Lower the motor to the bottom of the door. Slide the door glass forward and disengage the lift motor operating arm from the guide channel (1, Fig. 60). Withdraw the glass (2, Fig. 60) from the door.

- Remove the guide channel and seal (3, Fig 60) from the door glass.

Refitting

- Locate a new guide channel seal in position over the door glass.

- Position the guide channel over the seal and gently tap either side of the guide until the seal and the guide are firmly secured to the door glass.

- Refit the glass to the door, engage the lift motor operating arm with the guide channel. Refit the motor to the mounting plate, reconnect the electrical feed cables.

- Refit the outer slide channel and secure with the bolts.

- Refit the distance piece to the rear of the mounting plate. Refit the window lower channel securing bolts.

- Refit the stop peg to the mounting plate and refit the window lift motor mounting plate, secure with the screws.

- Refit the door speaker, outer weatherstrip, front door crash rail, and door trim casing.

- Reconnect battery and check operation of window lift mechanism.