Curiosii for ever!: Car repair manuals for everyone.

Wiper Gear Box: Service and Repair

Remove and Refit

1. Disconnect and remove the battery.
2. Remove the wiper arm and blades.
3. Remove the screen rail fascia.
4. Remove the wiper motor.
5. Remove the demister flap/actuator assembly.

Wheel Boxes:






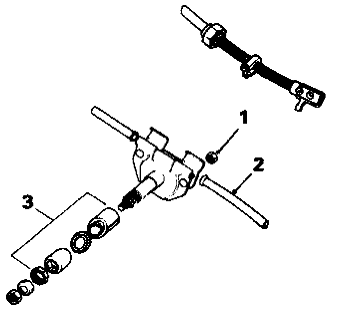
6. Remove the two nuts (1) retaining the wheelbox backplate and release the drive conduit (2).
7. Remove the nuts securing the wheelbox(es) to the scuttle and remove the chrome distance pieces and sealing rings (3).
8. Remove the wheelboxes.
9. Reverse the above procedure to refit.