Emission Control System Variants
EMISSIONS
EMISSION CONTROL SYSTEM VARIANTS
'B' EMISSIONS
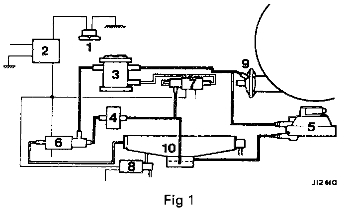
The 'B' Emission system utilizes ignition vacuum advance. The system components are shown in Fig 1 and comprise the following:
1 Water temperature switch
2 Time delay module
3 Vacuum regulator
4 Vacuum delay valve
5 Vacuum dump valve
6 3-way solenoid valve
7 2-way solenoid valve
8 Solenoid air switch
9 Distributor advance capsule
10 Throttle edge tapping
The vacuum system uses five different operating modes:
1 Idle - cold (below 38°C)
2 Light throttle - cold (below 38°C) below 4000 rpm
3 'Vacuum Dumping' Operation
4 Idle - hot (above 45°C)
5 Light throttle - hot (above 45°C) below 4000 rpm
Ignition advance operation with engine coolant temperature below 38°C and below 4000 rev/mm.
When the coolant temperature switch (1 Fig 1) senses that the coolant temperature is below 38°C, the 3-way solenoid valve (6 Fig 1) and the 2-way solenoid valve (7 Fig 1) become energized for 15 minutes via the time delay module (2 Fig 1).
Idle Cold
At idle speed, vacuum is not available at the throttle edge tapping (10 Fig 1), therefore there is no vacuum advance when cold. To compensate for this, the solenoid air switch (8 Fig 1) is energized (open) for 15 minutes to give a steady idle speed during the warm-up period, by drawing air directly from the air cleaner into the inlet manifold. 'B' bank manifold is fed by the engine balance pipe.
Light throttle below 380 C below 4000 rpm
With a light throttle and the coolant temperature below 380 C, the throttle edge tapping (10 Fig 1) sends a vacuum signal through the delay valve (4 Fig 1), the 3-way solenoid valve (6 Fig 1) and the regulator (3 Fig 1) to the distributor advance capsule (9 Fig 1). The lower port in the regulator (3 Fig 1) is closed so that the regulator is inoperative. In this condition full advance is available and the vacuum is equal either side of the dump valve (5 Fig 1) which remains closed.
Vacuum dumping, rapid acceleration and high engine speeds over 4000 rpm, coolant below 38°C
The dump valve (5 Fig 1) has two vacuum connections, one to the throttle housing on the engine side of the butterfly, which acts on a diaphragm inside the valve, and the other at the 'T' piece between the regulator and the distributor vacuum capsule. This line will be vented to atmosphere under certain circumstances.
When a vacuum is present at the throttle housing the vacuum signal received at the dump valve (5 Fig 1) acts on the diaphragm which closes the valve to atmosphere. When the vacuum signal disappears the valve opens to atmosphere.
Therefore, on rapid throttle openings, or high engine speed operations, the vacuum signal is dumped to prevent the possibility of detonation or ignition knock.
Engine temperature above 45°C
At a coolant temperature above 45°C, the coolant temperature switch (1 Fig 1) contacts open, which breaks the earth circuit and de-energizes the 3-way solenoid valve (6 Fig 1), the 2-way solenoid valve (7 Fig 1) and the solenoid air switch (8 Fig 1); the vacuum signal is now taken directly from the inlet manifold via the 3-way solenoid (6 Fig 1) and the regulator valve (3 Fig 1) to the distributor advance capsule (9 Fig 1).
With the coolant temperature above 45°C and the engine running at idle speed, atmospheric pressure acts on the lower port of the regulator (3 Fig 1) via the 2-way solenoid valve (7 Fig 1) and through the throttle edge tapping (10 Fig 1).
This allows the regulator to limit the depression on the vacuum advance capsule to 424 milli-bar to achieve a smooth idle speed condition by venting any vacuum signal in excess of 424 milli-bar to atmosphere via the throttle edge tapping (5 Fig 1).
Light throttle hot above 45°C and below 4000 rpm
With a light throttle, the throttle edge tapping (10 Fig 1)supplies a vacuum signal to the lower port of the regulator (3 Fig 1). This signal removes the restriction from the regulator, thus allowing full manifold depression to act upon the vacuum capsule (9 Fig 1). At this instant the vacuum is equal either side of the dump valve (5 Fig 1), 50 it remains closed.
'A' AND 'C' EMISSIONS
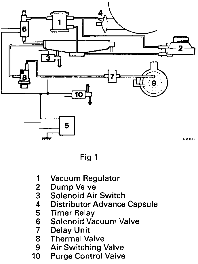
IGNITION VACUUM ADVANCE SYSTEM 'A' AND 'C' EMISSION V12 HE ENGINES - PRE 1983 M.Y.
Under normal operating conditions (Fig 1) the distributor advance vacuum signal is fed from the inlet manifold via solenoid vacuum valve (4) to the distributor advance capsule (2).
However, to obtain faster catalytic 'light off', this vacuum signal is inhibited for the first 45 seconds after the engine has started. This function is obtained by means of a timer/relay (3) and solenoid vacuum valve (4).
When the solenoid vacuum valve (4) is energized the distributor vacuum capsule (2) is ported to atmosphere for 45 seconds after which the timer/relay (3) cuts out, de~energizes the solenoid vacuum valve (4) and ports the distributor advance capsule to the inlet manifold. The timer/relay is reset and activated on each occasion that the starter motor is energized regardless of engine temperature.
The solenoid vacuum valve causes a restriction which can delay the destruction of the vacuum signal at the distributor when the throttle is opened rapidly. This condition may cause detonation. To overcome this problem a vacuum dump valve (1) is introduced into the system.
Operation of dump valve
The dump valve (1) has two vacuum connections, one to the inlet manifold which acts on a diaphragm inside the valve, the other at the 'T' piece between the solenoid vacuum valve (4) and distributor vacuum capsule (2). This line under certain circumstances is vented to atmosphere. When a vacuum is present at the inlet manifold the vacuum signal received at the dump valve (1) acts on the diaphragm which closes the valve to atmosphere. When the vacuum signal disappears the valve opens to atmosphere. Therefore on rapid throttle openings the vacuum signal is 'dumped' to prevent the possibility of detonation or ignition knock.
NOTE: Ignition timing
The ignition is 180 1 20 B.T. D.C. at 3000 rpm with the vacuum pipe disconnected at the distributor and the engine at normal operating temperature.
'A' AND 'C' EMISSION - FEDERAL, CANADIAN & JAPANESE SPECIFICATION 1983 ON
The vacuum system for these markets was modified to incorporate a vacuum regulator similar to that previously used on vehicles to European specification. It must be emphasized that these regulators are NOT interchangeable.
Ignition Vacuum Advance System
The vacuum advance system has three modes of operation:
1 For the first 45 seconds after starting.
2 Idle - after first 45 seconds.
3 Vacuum dumping.
First 45 Seconds After Starting
To obtain faster catalytic '~light off" the vacuum signal is inhibited for the first 45 seconds after the engine has started. This function is obtained by means of a timer/relay (5) and solenoid vacuum valve (6).
When the solenoid vacuum valve (6) is ported to atmosphere for 45 seconds (Fig 1) after which the timer/relay (5) cuts out, de-energizes the solenoid vacuum valve (6) and ports the distributor advance capsule to the inlet manifold. The timer/relay is reset and activated on each occasion that the starter motor is energized regardless of engine temperature.
Idle - After First 45 Seconds
After the time relay (5) de-energizes the solenoid vacuum valve (6). The distributor capsule (4) is ported to the inlet manifold to give vacuum advance. However, to obtain a more efficient idle condition a vacuum regulator (1) has been introduced into the system, located between the solenoid vacuum valve (6) and the distributor advance capsule (4), The lower port of the vacuum regulator (1) being sourced to the air cleaner side of the throttle butterfly. Under idle conditions atmospheric pressure operates on the vacuum regulator (1) thereby limiting the vacuum available to the distributor advance capsule (4) to 0.372 f 0.033 bars (11.0" +/- 1" Hg).
Vacuum Dumping
The vacuum regulator (1) and solenoid vacuum valve (6) cause a restriction in the system which can delay the destruction of the vacuum signal when the throttle is opened rapidly. This condition can cause detonation. To overcome this problem a vacuum dump valve (2) is introduced into the system.
Operation of Dump Valve
The dump valve (2) has two vacuum connections, one to the inlet manifold which acts on a diaphragm inside the valve, the other at the 'T' piece between the vacuum regulator (1) and the distributor vacuum capsule (4). This line under certain circumstances is vented to atmosphere. When a vacuum is present at the inlet manifold the vacuum signal received at the dump valve (2) acts on the diaphragm which closes the valve to atmosphere. When the vacuum signal disappears the valve opens to atmosphere. Therefore on rapid throttle openings the vacuum signal is 'dumped' to prevent the possibility of detonation.
Air Injection Switching System
Secondary air is supplied to the exhaust ports only during the engine warm up phase. When the engine coolant temperature reaches a pre-determined level, delivery of secondary air is switched from the exhaust ports to atmosphere. This function is achieved by means of a vacuum operated air switching valve, and the vacuum source is controlled by a thermal vacuum valve, located in the right hand rear coolant outlet rail.
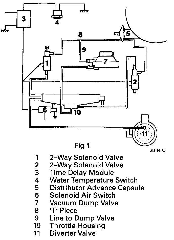
'D' EMISSIONS
The 'D' emission vacuum system has three modes of operation.
1 Idle - cold (below 38°C)
2 Idle - hot (above 45°C)
3 Vacuum dumping
Idle Cold - below 38°C and 4000 rev/min
The water temperature sensor (4) energizes both two-way solenoids (1) and (2) via the timer relay (3) which holds for fifteen minutes. The two-way (1) solenoid vents the distributor advance capsule to atmosphere so inhibiting vacuum advance and two-way solenoid (2), directing the inlet manifold vacuum to react on the retard side of the distributor advance/retard capsule giving approximately 6 degrees of retardation (i.e. 6 degrees ATDC).
As a consequence of the ignition setting and low CO level, sufficient air has to be introduced into the engine to maintain a satisfactory idle. A solenoid air switch (6) achieves this by directing air from the air cleaner into the inlet manifold, bypassing the throttle butterfly.
Idle Hot - Above 45°C
After fifteen minutes the timer/relay (3) de-energizes the solenoids (1) and (2). This removes the vacuum retard and allows manifold vacuum to react on the advance side of the distributor vacuum capsule. Additional air is no longer required , therefore the solenoid air switch (6) is also de-energized by the timer/relay (3).
Vacuum dumping - Rapid Acceleration & High Engine speeds of over 4000 rev/mm
The dump valve (7) has two connections, one to the throttle housing on the engine side of the butterfly which acts on a diaphragm inside the valve, the second at the 'T' piece (8) between the solenoid (1) and the distributor advance/retard capsule.
This line (9), under certain conditions, will be vented to atmosphere.
When a vacuum is present in the throttle housing (10) the vacuum signal received at the dump valve (7) acts on a diaphragm which closes the valve to atmosphere. When the vacuum signal disappears the valve opens to atmosphere.
Therefore on rapid throttle openings or high engine speeds the vacuum signal is dumped to prevent the possibility of detonation.
Air injection
If air injection was continuous at all times, then particularly during the warm up period with the engine at high rev/min on the overrun it would backfire though the exhaust system.
To prevent this, a vacuum sensed diverter valve is incorporated in the system. This allows the air, normally used for injection, to be diverted to atmosphere under conditions of high vacuum.