Curiosii for ever!: Car repair manuals for everyone.

Clutch: Service and Repair

BORG WARNER 66

ONE-WAY CLUTCH

CAUTION: No overhaul of the one-way clutch is possible. In the event of any of the following defects being discovered, the one-way clutch must be renewed.



Dismantling

Fig. 41:






98. Note the fitted position of the one-way clutch.

99. Withdraw the clutch from the planet carrier (Fig. 41).

Inspection

100. Check the sprag faces for flat spots indicating wear (Fig. 41).

101. Check the sprag cage for flat spots indicating wear (Fig. 41).


Reassembling

102. Push the one-way clutch into the planet carrier, ensure that the lip faces outwards and that the clutch is fully seated in the recess.



FORWARD SUN GEAR SHAFT


Inspection

Fig. 42:






103. Check the drillings in the shaft for obstruction, clear with compressed air only (Fig. 42)

104. Check the splines, sealing ring grooves and gear teeth for burrs or signs of damage, renew if damaged (Fig. 42) Minor burrs may, however. be removed with a very fine abrasive

105. Examine the large and small needle-roller bearings. renew if either show signs of wear or damage.



REAR CLUTCH


Overhaul

Dismantling


Fig. 43:






106. Place the rear clutch assembly over the central spindle of the clutch spring compressor 18G 1016 reverse the sun gear down (Fig. 43).

107. Fit spring compressor over spindle (Fig. 43).

108. Compress the spring and remove the snap ring (Fig 43).

109. Slowly release the pressure and remove the compressor.

110. Remove the retainer and spring.

Fig. 44:






111. Remove the snap-ring retaining pressure plate (Fig. 44).

112. Remove the pressure plate (Fig. 44).

113. Remove the inner and outer clutch plates (Fig. 44).


NOTE:
Five outer and five inner clutch plates are fitted

114. Remove the piston by applying air pressure to the supply hole in the clutch housing pedestal (Fig 44).

115. Remove and discard the piston seal (Fig. 44).


Inspection

116. Check clutch drum and bearing surfaces for scores or burrs, replace drum if damaged (Fig. 44).

117. Check the fluid passage for obstructions, clear passages with compressed air only.

118. Inspect the piston check valve for free operation.

119. Check the clutch release spring for distortion, renew if distorted.

120. Check the inner clutch plates for flatness and that facings are undamaged.

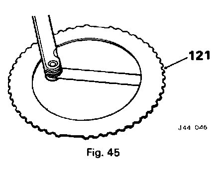
Fig. 45:






121. Check that coning on outer clutch plates is not less than 0.25 mm (0.010 in) (Fig. 45).

122. Check the outer clutch plates for scores or burrs, renew if damaged Minor scores or burrs may, however. be removed with a very fine abrasive

123. Check needle bearings and bush in clutch housing for signs of wear, scores or evidence of metal transfer. If damaged the clutch hub must be renewed



Reassembling

Fig. 46:






124. Smear the new piston seal with petroleum jelly and fit to the piston (Fig. 46).

125. Position the rear clutch piston replacer tool 18G 702 in the clutch drum (Fig. 46).

126. Lubricate the piston and replacer tool with clean transmission fluid.

127. Install the piston; remove the tool.

128. Reverse operations 106 to 113.


CAUTION: Outer clutch plates must be assembled with cones facing in same direction.

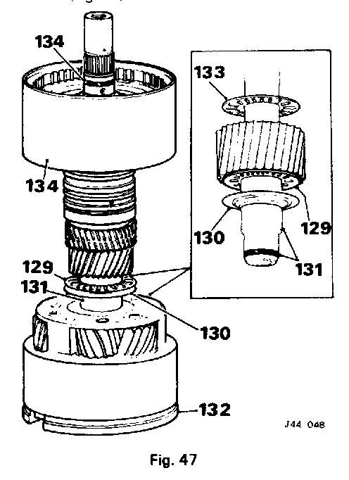
Fig. 47:






129. Smear the large needle bearing with petroleum jelly and position it on output end of forward sun gear shaft (Fig. 47).

130. Position the backing washer. flange leading in planet carrier (Fig. 47).

131. Insert the forward sun gear shaft in the planet carrier. fit new fibre sealing ring on Output end of shaft (Fig. 47).

132. Position the centre support in the planet carrier (Fig. 47).

133. Smear the small needle-roller bearing with petroleum jelly and position it on the forward sun gear shaft (Fig. 47).

134. Position the rear clutch assembly on the forward sun gear shaft; fit new sintered sealing rings on the input end of the shaft (Fig. 47). Ensure that gaps in sealing rings are staggered.

CAUTION: Do not remove the rear clutch assembly and forward sun gear shaft from the planet carrier.



FRONT CLUTCH


Overhaul


Dismantling


Fig. 48:






135. Remove the snap-ring and withdraw the turbine shaft (Fig. 48)

136. Remove and discard the bronze thrust washer (Fig. 48).

137. Remove the Clutch hub (Fig. 48)

138. Remove the inner and outer clutch plates and ring gear (Fig 48).

NOTE: Four outer and five inner clutch plates are fitted.

139. Remove the snap-ring and diaphragm (Fig. 48).

140. Remove the piston by applying air pressure to the supply hole in the clutch housing pedestal (Fig. 48)

141. Remove the plain and Belleville washers; remove and discard the seal and "O" ring (Fig. 48).

NOTE: On later cars, six Belleville washers are used, with no plain washer.


Inspection

142. Check the clutch drum and hearing surfaces for scores or burrs; replace the drum if damaged.

143. Check the fluid passages for obstruction; clear passages with compressed air only.

144. Inspect the piston check valve for free operation (Fig. 48).

145. Check the clutch release diaphragm for cracks or distortion; renew if damaged.

146. Check the inner clutch plates for flatness and that the facings are undamaged.

NOTE: There is no coning on the clutch plates

147. Check outer clutch plates for flatness, scores or burrs. renew if damaged. Minor scores or burrs may, however. he removed with a very fine abrasive.

148. Check the bush in the turbine shaft for scores or evidence of metal transfer. If damaged. the turbine shaft must he renewed.



Reassembling

149. Smear the new "O" ring with petroleum jelly and fit to the piston (Fig. 49).

Fig. 49:






150. Position the Belleville and plain washers in the piston (Fig 49). retain the washers with a smear of petroleum jelly.

NOTE: Later cars are fitted with six Belleville washers and no plain washers. Replace these in three opposing pairs, the inner diameters of the washers in each pair being in contact. This washer arrangement may be used to replace the earlier assembly, but if this is done the plain washer originally fitted must be discarded.

151. Soak the new oil seal in clean transmission fluid and insert in the piston (Fig. 49).


NOTE: Open end of seal faces outwards.

Fig. 50:






152. Position the front clutch piston replacer tool 18G 1107 in the clutch drum (Fig. 50).

153. Lubricate the piston and replacer tool with clean transmission fluid.

154. Install the piston (Fig. 50); remove the tool.

Fig. 51:






155. Fit the retease diaphragm (Fig. 51).

156. Fit the snap-ring (Fig. 51); ensure that the ring is correctly seated in the groove.

157. Fit the steel backing washer and new bronze thrust washer on the forward sun gear shaft (Fig. 51); ensure that the backing washer is seated Correctly.

158. Ensure that the gaps in the sealing rings on the input end of the forward sun gear shaft are staggered (Fig. 51).

159. Check to ensure that the teeth of the rear clutch inner plates are in alignment.

160. Carefully lower the front clutch hub and piston assembly over the shaft and into rear clutch (Fig. 51).

NOTE: To facilitate engagement of gear with the rear clutch plates, the front clutch should be moved backwards and forwards slightly.

161. Fit the ring gear (Fig. 51).

162. Position the inner and Outer clutch plates in the clutch drum (Fig. 51).

NOTE: For identification purposes, two pairs of teeth at 180° have been omitted on the outer clutch plates.

163. Check to ensure that the teeth of the inner clutch plates are in alignment.

164. Fit the clutch hub, ensure that the hub fully engages all clutch plates (Fig. 51).

165. Position the new bronze thrust washer in the recess in the clutch hub (Fig. 51).

166. Fit the turbine shaft and the snap-ring, ensure that the snap-ring is correctly seated in groove (Fig. 51)

CAUTION: On no account should the front and rear clutch assemblies be separated as damage to the sealing rings on the forward sun gear shaft will result.