Curiosii for ever!: Car repair manuals for everyone.

Reassemble

NOTE: Before refitting the crankshaft, the rear oil seal must be fitted and sized correctly. Before fitting the seal halves into the housing grooves, brush a thin coat of red Hermetite into both grooves for 25 mm (1 inch) from the joint face on opposite halves (from leading edge of seal on both).





Figure 68

- Carefully tap the new rear oil seal halves (1, Fig. 68) on side face to narrow section and press into the grooves in the seal housings (2, Fig. 68).
- Use a hammer handle (3, Fig. 68) to roll the seal into the housing until the ends do not protrude.

NOTE: Do NOT cut the ends of the seal.

- Use a knife or similar tool to ensure that no loose strands are proud.





Figure 69

- Assemble the two halves of the seal and secure using two socket head screws (1, Fig. 69).
- Fit the rear main bearing cap without bearings and tighten the bolts to 93-97.6 Nm (68.4-72 ft lb).
- Assemble the rear oil seal housing to the cylinder block using three socket head screws.





Figure 70

- Smear a small quantity of colloidal graphite around the inside surface of the oil seal and insert the sizing tool JD 17B (1, Fig. 70).
- Press the tool inwards and rotate it until fully home.
- Withdraw the tool by pulling and twisting at the same time.
- Remove and separate the rear main bearing oil seal housing and remove the rear main bearing cap (2, Fig. 70).
- Check the distributor drive shaft bush for wear, and, if necessary, renew it.
- Tap the bush in from the bottom of the crankcase ensuring that the locating holes line up.
- Fit the locating peg.
- Fit the main bearing shells in the cylinder block.
- Lay the crankshaft in position and fit the rear oil seal housing.





Figure 71

- Fit new thrust washers (1, Fig. 71) to center main bearing cap, white metal side outwards.
- Fit the cap to the cylinder block.
- Check the crankshaft end-float which should be 0.10-0.15mm (0.004-0.006 in).

NOTE: Thrust washers are supplied in two sizes, standard and 0.10 mm (0.004 in) oversize and should be selected to bring the end- float within required limit. Oversize washers are stamped .004 on the steel face.

- Fit the main bearing shells and caps with the numbers on the caps corresponding with the numbers on the cylinder block (2, Fig. 71).
- Fit the main bearing bolts.
- Locating the oil pipe brackets as noted, and lock washer and tighten.
- Test the crankshaft for free rotation.
- Fit the Woodruff key to the inner slot and tap oil pump/distributor drive gear into position.
- Fit the pistons and connecting rods to cylinder bores and secure to crankshaft using special nuts.
- Check the crankshaft for free rotation.

NOTE: Ensure that the pistons are fitted with 'FRONT' on each crown towards the front of the cylinder block.

- Turn the crankshaft to accurately set pistons 1 and 6 to TDC.





Figure 72

- Place the distributor drive shaft in position with the offset slot as shown (1, Fig. 72).
- Slightly withdraw the shaft and fit Woodruff key (2, Fig. 72), thrust washer (3, Fig. 72) and drive gear (4, Fig. 72) on shaft.
- Maintaining correct slot position, press the shaft into gear, ensuring that the keyway engages correctly.
- Fit the pegged tab washer (5, Fig. 72) and secure it with plain nut (6, Fig. 72).
- Check the end-float of the shaft. The clearance should be 0.10-0.15mm (0.004-0.006 in). If no clearance exists, renew drive gear.

NOTE: In emergency, the thrust washer can be reduced.

- Locate the lower timing chain dampers (7, Fig. 72) and loosely fasten.
- Fit the Woodruff key to the second slot.
- Fit the top and bottom timing chain assembly and chain sprockets (8, Fig. 72) into position and secure using four setscrews and locking washers (9, Fig. 72).
- Position the damper in light contact with the chain and secure it.
- Screw the slipper of the chain tensioner into the body casting.
- Fit the slip gauge or distance card (10, Fig. 72) supplied with the new tensioner to maintain a clearance of 3.17 mm (0.125 in) between slipper and body.
- Locate the conical filter (11, Fig. 72) in the cylinder block.
- Secure the chain tensioner to the cylinder block using two setscrews (12, Fig. 72) and lock-washers.
- Fit the shims as required to ensure that the slipper runs central on the chain.
- Set the adjustable damper (13, Fig. 72) into light contact with the chain and secure it.
- Remove the slip gauge or distance card, lightly tap to release ratchet.
- Locate the coupling on the oil pump (14, Fig. 72) and secure it to the front main bearing cap.
- Fit the lockplates and pipe bracket.
- Ensure that the O-ring seal is fitted in the oil pump suction (15, Fig. 72) and delivery ports (16, Fig. 72).
- Use a new gasket and fit the delivery pipe between the oil pump and cylinder block.
- Secure the pipe clip (17, Fig. 72).
- Fit the oil suction pipe and secure the pipe clips (18, Fig. 72).

NOTE: Locate the pipe on the main bearing cap brackets so that the intake end is on the center line of the engine.

- Fit the oil thrower (19, Fig. 72) at the timing chain sprocket, if originally fitted.
- Use new gaskets smeared with grease and fit the timing cover.
- Fit the ignition timing pointer. Liberally coat a new front oil seal with engine oil and locate it in the timing cover recess, open side inwards.
- Check the O-ring seal (20, Fig. 72) in the distance piece (21, Fig. 72) and fit on to the crankshaft.
- Use new gaskets smeared with grease and fit the oil pan.
- Locate the transmission oil cooler pipe brackets on cars fitted with automatic transmission only.

NOTE: Ensure that the short setscrew is fitted at the front right-hand corner.

- Fit a new O-ring seal on the oil return pipe and secure it to the oil pan using two plain nuts and spring washers.
- Using a new gasket lightly smeared with grease, fit the oil filter housing.
- Locate the oil return pipe hose, oil feed pipe to camshafts and oil cooler hoses, if fitted.
- Secure the housing to the block using four setscrews and shakeproof washers.
- Tighten the hose clips and replace the oil pressure transmitter and pedestal.
- Smear the seal of the new canister with engine oil and screw it into place by hand only DO NOT OVERTIGHTEN.
- Fit the water pump, omitting the lower right-hand bolt if the car is to Federal emission control specification.





Figure 74

- Fit the Woodruff key (1, Fig. 74) to the forward slot in the crankshaft and fit the damper cone (2, Fig. 74).
- Fit the woodruff key in the damper cone and fit the torsional damper (3, Fig. 74).
- Secure with the large bolt (4, Fig. 74) and plain washer (5, Fig. 74).
- Fit the crankshaft pulley(s) and secure using four setscrews and lockplate (6, Fig. 74).

Timing Mark:





Figure 75

- Set #6 piston to TDC using a dial indicator and adjust the position of the ignition timing pointer (1, Fig. 75).
- Locate flywheel/drive plate on the crankshaft and tap the dowels through.
- Secure using ten bolts on the new lockplate.
- Fit a new cylinder head gasket, dry, ensuring that the side marked 'TOP' is uppermost.
- Check that No 6 (front) cylinder is at TDC.





Figure 76

- With the head on the work bench, carefully rotate the camshafts and set with gauge C 3993 (1, Fig. 76).

NOTE: Ensure that the valves do not foul each other.

CAUTION: Before fitting the cylinder head, be sure that the #6 piston is still at TDC and that the camshafts a correctly timed. Failure to do this can result in engine damage.

- Fit the head to the cylinder block.

NOTE: The engine MUST NOT be rotated until the camshaft sprockets are connected.

- Fit the spark plug lead carrier brackets and lifting eyes to the appropriate studs and fit plain washers to the rest.
- Fit and tighten the fourteen large dome headed nuts to 67.8-70.5 Nm (50-52 ft lb).
- Fit the six nuts and spring washers across the front of the cylinder head.
- Locate the camshaft sprockets on the camshafts, remove the circlips and pull the adjuster plates forward to disengage the serrations.
- Rotate the adjuster plates until the 'fit' holes line up exactly with the tapped holes in the camshafts.
- Fit one bolt at each camshaft.





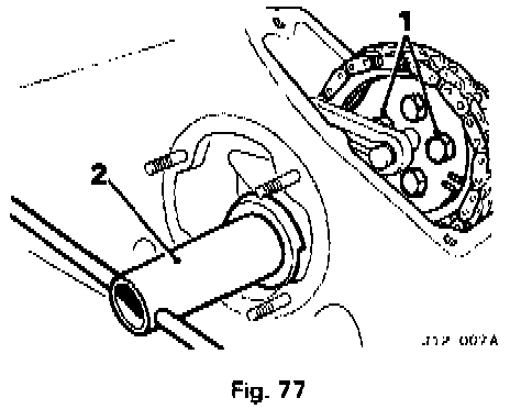
Figure 77

- Rotate the engine to afford access to the remaining holes and fit the bolts (1, Fig. 77).
- Lock the bolts at both camshafts.
- Tension the top timing chain using special tool JD 2B (2, Fig. 77) until there is slight flexibility on the outer sides of the chain.
- Tighten the locknut.
- Complete the reassembly by reversing the early dismantling operations as appropriate.