Curiosii for ever!
: Car repair manuals for everyone.
Home
>>
Isuzu Truck
>>
2007
>>
Ascender 2WD L6-4.2L
>>
Repair and Diagnosis
>>
Relays and Modules
>>
Relays and Modules - Cooling System
>>
Radiator Cooling Fan Control Module
>>
Diagrams
>>
Diagram Information and Instructions
>>
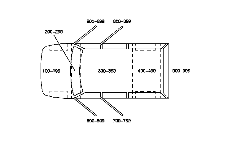
Utility/Van Zoning
Utility/Van Zoning
UTILITY/VAN ZONING
All grounds, in-line connectors, pass-through grommets, and splices have identifying numbers that correspond to where they are located in the vehicle. The table explains the numbering system.