Curiosii for ever!: Car repair manuals for everyone.

Engine Block Plug Installation



Engine Block Plug Installation





Important: Engine block plug, oil gallery, and coolant sealing washers may be used again if not bent, scored or otherwise damaged.

1. Apply a 3.175 mm (0.125 inch) bead of sealant GM P/N 12346004 (Canadian P/N 10953480) to the engine block coolant heater sealing washer, if applicable. Refer to Sealers, Adhesives, and Lubricants.

Notice: Refer to Fastener Notice in Service Precautions.

2. Install the engine block coolant heater to the engine block.
^ Tighten the block coolant heater to 50 Nm (37 ft. lbs.).
3. Apply a 3.175 mm (0.125 inch) bead of sealant GM P/N 12346004 (Canadian P/N 10953480) to the engine block coolant drain hole plug sealing washer.





4. Install the engine block coolant drain hole plug.
^ Tighten the coolant drain hole plug to 60 Nm (44 ft. lbs.).





5. Apply a 3.175 mm (0.125 inch) bead of sealant GM P/N 12346004 (Canadian P/N 10953480) to the engine block left front oil gallery plug sealing washer.
6. Install the engine block left front oil gallery plug.
^ Tighten the block left front oil gallery plug to 60 Nm (44 ft. lbs.).





7. Apply a 3.175 mm (0.125 inch) bead of sealant GM P/N 12346004 (Canadian P/N 10953480) to the engine block left rear oil gallery plug sealing washer.
8. Install the engine block left rear oil gallery plug.
^ Tighten the block left rear oil gallery plug to 60 Nm (44 ft. lbs.).





9. Inspect the engine block rear oil gallery plug and O-ring seal. If the O-ring seal on the plug is not cut or damaged, the rear oil gallery plug may be used again.
10. Lubricate the O-ring seal with clean engine oil.
11. Install the O-ring seal onto the plug.
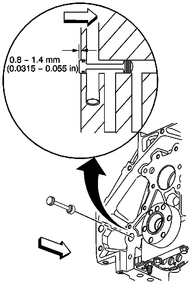
12. Install the engine block rear oil gallery plug into the oil gallery bore. A properly installed block plug will protrude 0.8 - 1.4 mm (0.0315 - 0.055 inch) beyond the rear face of the block.





13. Apply threadlock GM P/N 12345382 (Canadian P/N 10953489) to the sides of the NEW front oil gallery plug.
14. Install a NEW engine block front oil gallery plug. Install the plug into the oil gallery bore 2.2 - 2.8 mm (0.0086 - 0.011 inch) below flush.





15. Install the left side knock sensor (718) and bolt (739).
^ Tighten the bolt to 20 Nm (15 ft. lbs.).





16. Install the right side knock sensor (718) and bolt (739).
^ Tighten the bolt to 20 Nm (15 ft. lbs.).