Curiosii for ever!: Car repair manuals for everyone.

System Specifications

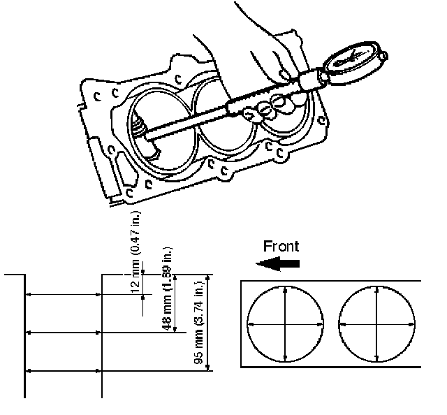
Block Flatness

CAUTION: Be very careful not to allow any material to accidentally drop into the upper surface of the cylinder block. Be very careful not to scratch the upper surface of the cylinder block.





The cylinder block must be reground or replaced if the warpage exceeds the limit.
Warpage
Limit: 0.15 mm (0.0059 inch)
Maximum repairable limit: 0.15 mm (0.0059 inch)

Cylinder Head Surface Variation




Inspect cylinder head deck, common chamber and exhaust manifold mating surfaces for flatness. These surfaces may be reconditioned by milling. If the surfaces are "out of flat" with "round" by more than specification, the surface should be ground to within specifications. Replace the head if it requires machining beyond the repairable limit.
Head surface and manifold surface
Standard: 0.05 mm (0.002 inch) or less
Warpage limit: 0.1 mm (0.0039 inch)
Maximum Repairable limit: 0.2 mm (0.0079 inch)
Head height
Standard height: 133.2 mm (5.2441 inch)
Warpage limit: 0.1 mm (0.0039 inch)
Maximum Repairable limit: 133.0 mm (5.2362 inch)


Cylinder Bore
Use a cylinder gauge to measure the cylinder bore diameter in both the axial and thrust directions. Each measurement should be made at six points.

CAUTION: Be very careful not to allow any material to accidentally drop into the upper surface at the cylinder block. Be very careful not to scratch the upper surface of the cylinder block.

Cylinder Bore Inside Diameter
Limit: 93.530 mm (3.6823 inch)





If the measurement exceed the specified limit, the cylinder block must be replaced.
Diameter
Grade A: 93.400 mm - 93.410 mm (3.6772 inch - 3.6776 inch)
Grade B: 93.411 mm - 93.420 mm (3.6776 inch - 3.6779 inch)
Grade C: 93.421 mm - 93.430 mm (3.6780 inch - 3.6783 inch)

Crankshaft, Engine
Inspect Crankshaft
Set the dial indicator as shown in the illustration and measure the crankshaft thrust clearance. If the thrust clearance exceeds the specified limit, replace the thrust bearings as a set.
Thrust Clearance
Standard 0.06 mm - 0.24 mm (0.0024 inch - 0.0094 inch)
Limit 0.30 mm (0.0118 inch)
Carefully set the crankshaft on the V-blocks. Slowly rotate the crankshaft and measure the runout. If the crankshaft runout exceeds the specified limit, the crankshaft must be replaced.
Runout 0.06 mm (0.0024 inch)

Connecting Rods





Check the connecting rod alignment If either the bend or the twist exceeds the specified limit, the connecting rod must be replaced.
Bend per 100 mm (3.937 inch)
Limit m0.05 (0.0020)
Twist per 100 mm (3.937 inch)
Limit 0.15 (0.0059)
Measure the connecting rod thrust clearance. Use a feeler gauge to measure the thrust clearance at the large end of the connecting rod If the clearance exceeds the specified limit, the connecting rod must be replaced.
Standard 0.16 mm - 0.35 mm (0.0063 inch - 0.0138 inch)
Limit 0.40 mm (0.0157 inch)

Connecting Rod Bearing
Measure the width of the plastigage and determine the oil clearance. If the oil clearance exceeds the limit, replace the rod bearing as a set.
Standard 0.025 - 0.058 mm (0.0010 - 0.0023 inch)
Limit 0.08 mm (0.0031 inch)

Piston Diameter








Measure the piston outside diameter with micrometer at the piston grading position and a right angle to the piston pin.
Piston grading position (from piston skirt)
Piston grading position 11 mm (0.433 inch)
The size mark (1) for piston outside diameter is represented as shown in Figure.
Outside Diameter
Size Mark A 93.360 mm - 93.370 mm (3.6756 inch - 3.6760 inch)
Size Mark B 93.371 mm - 93.380 mm (3.6760 inch - 3.6764 inch)
Size Mark C 93.381 mm - 93.390 mm (3.6764 inch - 3.6768 inch)

Piston Rings

Ring End Gap:





Torque Specifications

Crankshaft pulley
Install crankshaft pulley using J-8614-01, hold the crankshaft pulley and tighten center bolt to the specified torque.
Torque 167 Nm (123 ft. lbs.)
Torque:
M8 bolt 22 Nm (16 ft. lbs.)
M10 bolt 46 Nm (34 ft. lbs.)





Ignition coil, Spark plug, Crankshaft position sensor and Under cover





Cylinder head cover, Cylinder head, Camshaft bearing cap, Common chamber, EGR valve and EGR pipe, Ion sensing module





Crankshaft main bearing, Flywheel, Crankcase, Oil pan, Timing belt tensioner, Timing pulley, Timing belt cover, Oil pump, Oil gallery, Oil strainer and water pump





Connecting Rod and Water Pump

Cylinder block bolts





Cylinder block side bolts
Tighten all the bolts to the specified torque in the order shown.
Torque 39 Nm (28.8 ft. lbs.)

Main Bearing Cap Bolts





Install main bearing caps, oil gallery and crank case bolts in the order show, and tighten each bolt to the specified torque.
Torque 39 Nm (28.8 ft. lbs.)