Curiosii for ever!: Car repair manuals for everyone.

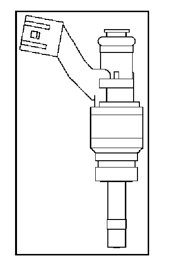
Fuel Injector

Fuel Injector
The sequential direct fuel injection (SFI) fuel injector is a solenoid-operated device controlled by the ECM. The ECM energizes the solenoid, which opens a valve to allow fuel delivery.

The fuel is injected under pressure in a conical spray pattern to the cylinder head directly.




A fuel injector which is stuck partly open will cause a loss of fuel pressure after engine shut down, causing long crank times.