Curiosii for ever!
: Car repair manuals for everyone.
Home
>>
Isuzu Truck
>>
2004
>>
Rodeo 2WD V6-3.2L
>>
Repair and Diagnosis
>>
Starting and Charging
>>
Power and Ground Distribution
>>
Relay Box
>>
Application and ID
>>
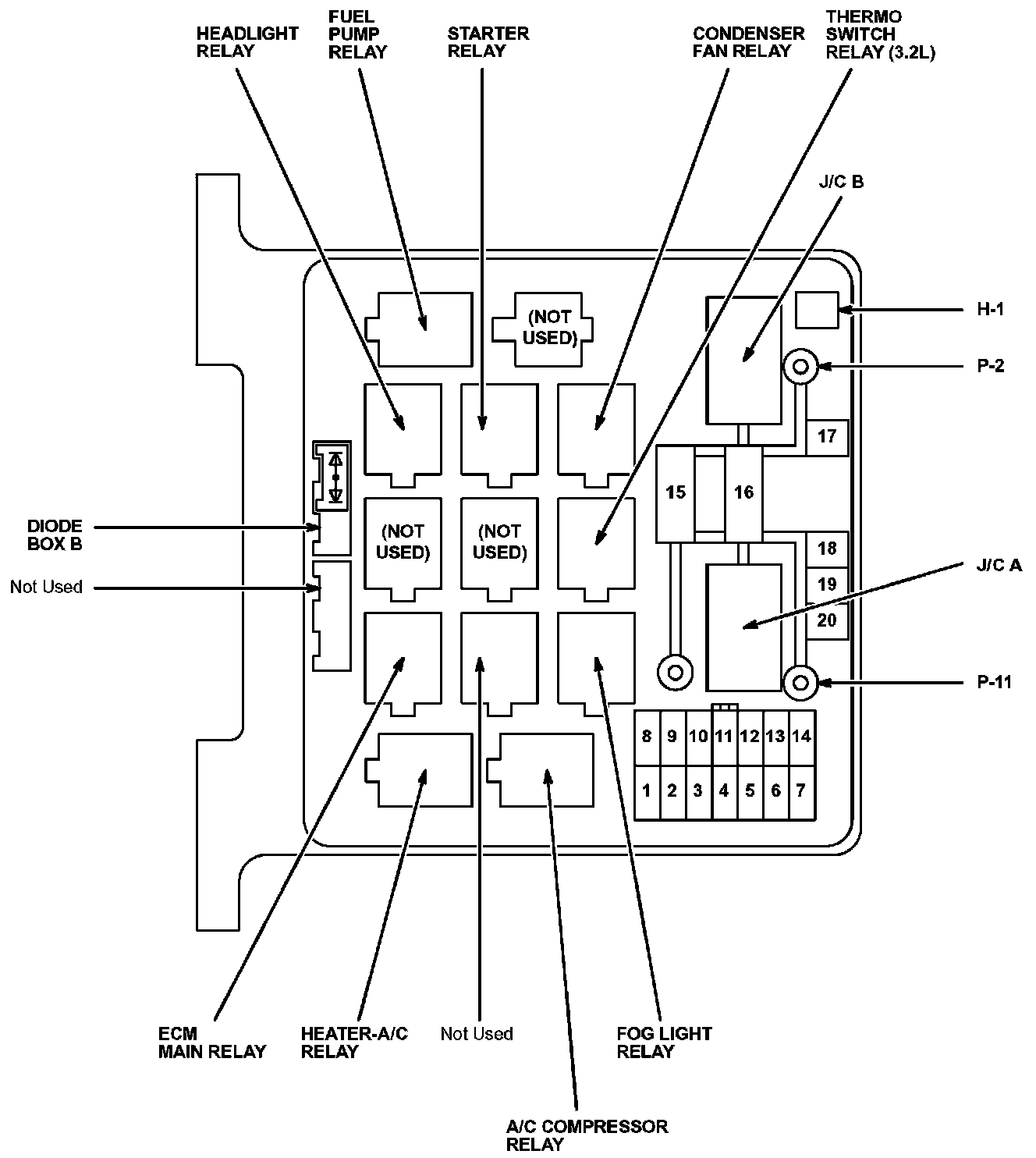
Fuse/Relay Box
Fuse/Relay Box
Fuse/Relay Box Part 1:
Fuse/Relay Box Part 2:
Fuse/Relay Box Part 1:
Fuse/Relay Box Part 2: