Curiosii for ever!
: Car repair manuals for everyone.
Home
>>
Isuzu Truck
>>
2004
>>
Ascender 2WD L6-4.2L
>>
Repair and Diagnosis
>>
Power and Ground Distribution
>>
Fuse Block
>>
Application and ID
>>
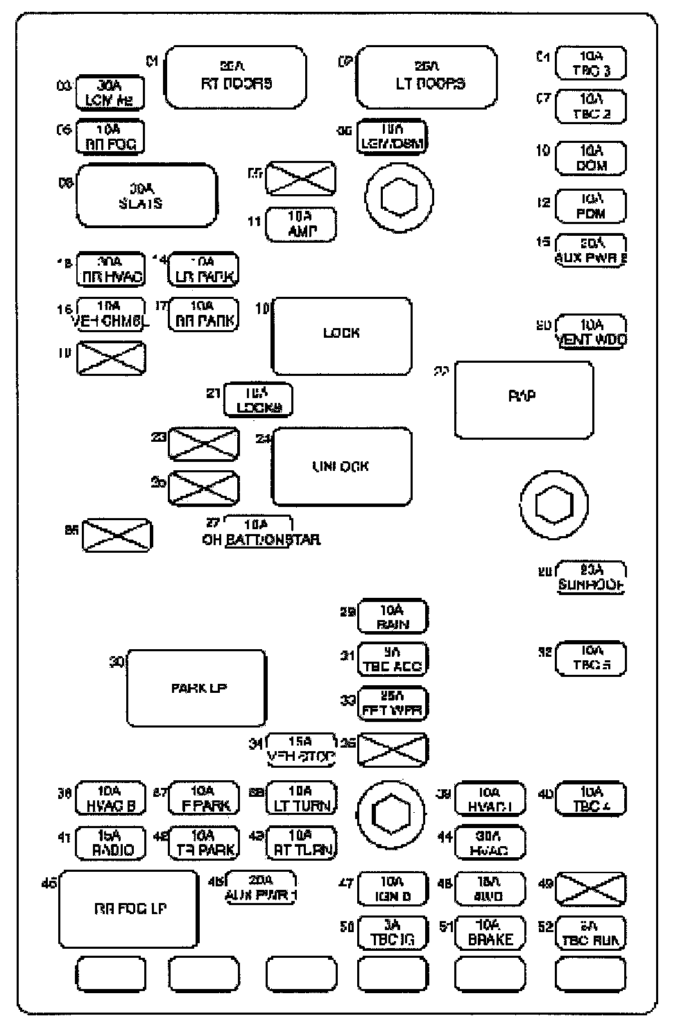
Rear Fuse Block
Rear Fuse Block
Part 1 Of 2:
Part 2 Of 2: