Curiosii for ever!: Car repair manuals for everyone.

Standard Thread Repair- Flush Hole

Standard Thread Repair- Flush Hole

Caution: Refer to Safety Glasses Caution in Service Precautions.

Important: The use of a cutting type fluid is recommended when performing the drilling, counterboring and tapping procedures.





When installed to the proper depth, the flange (1) of the insert will be seated against the counterbore of the drilled/tapped hole and just below the surface (2) of the base material.

Important:
^ During the drilling process, it is necessary to repeatedly remove the drill and clean chips from the hole and the flutes of the drill.
^ Do NOT drill any further than the original hole depth.





1. Drill out the threads of the damaged hole.
^ M6 Inserts require a minimum drill depth of 15 mm (0.59 inch).
^ M8 Inserts require a minimum drill depth of 20 mm (0.79 inch).
^ M10 Inserts require a minimum drill depth of 23.5 mm (0.93 inch).

Important: All chips must be removed from the drilled hole prior to tapping.





2. Using compressed air, clean out any chips.

Important: A properly counterbored hole will show a slight burnishing on the surface of the base material for 360 degrees around the drilled hole.





3. Counterbore the drilled hole to the full depth permitted by the tool (1).

Important: All chips must be removed from the drilled hole prior to tapping.





4. Using compressed air, clean out any chips.

Important:
^ During the tapping process, it is necessary to repeatedly remove the tap and clean chips from the hole and the flutes of the tap.
^ Ensure the tap has created full threads at least to the depth equal to the insert length.





5. Using a suitable tapping wrench, tap the threads of the drilled hole.
^ M6 Inserts require a minimum tap depth of 15 mm (0.59 inch).
^ M8 Inserts require a minimum tap depth of 20 mm (0.79 inch).
^ M10 Inserts require a minimum tap depth of 23.5 mm (0.93 inch).

Important: All chips must be removed from the tapped hole prior to insert installation.





6. Using compressed air, clean out any chips.





7. Spray cleaner into the tapped hole.

Important: All chips must be removed from the tapped hole prior to insert installation.





8. Using compressed air, clean out any chips.

Important: Do not allow oil or other foreign material to contact the outside diameter (OD) of the insert.





9. Lubricate the threads of the driver installation tool (2) with the driver oil (1) J 42385-110.





10. Install the insert (2) onto the driver installation tool(1).





11. Apply threadlock sealant (1) to the insert OD threads (2).





12. Install the insert (2) into the tapped hole.

Important: If the insert will not thread down until the flange contacts the counterbored surface, remove the insert immediately with a screw extracting tool and inspect the tapped hole for any remaining chips and/or improper tapping.





13. Install the insert until the flange (2) of the insert contacts the counterbored surface.

Important: The driver installation tool will tighten up before screwing completely through the insert. This is acceptable. The threads at the bottom of the insert are being formed and the insert is mechanically locking the insert into the base material threads.





14. Continue to rotate the driver installation tool (1) through the insert (2).





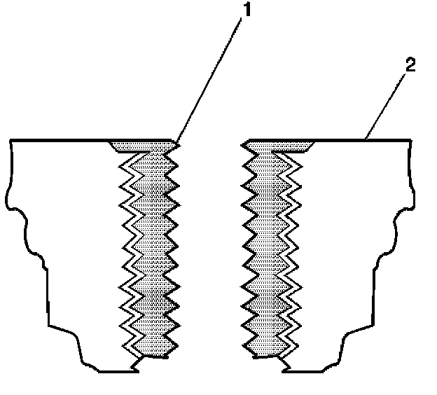
15. Inspect the insert for proper installation in to the tapped hole. A properly installed insert (1) will be either flush or slightly below flush with the surface of the base material (2).





16. Any installed insert that restricts or blocks an oil or engine coolant passage (3) will need to have the oil or engine coolant passage drilled out (4) to the original size of the oil or engine coolant passage. After drilling the restriction or blockage, clean out any chips and thread the installation driver tool through the insert again to remove any burrs caused by the drilling of the oil or engine coolant passage.