Timing Belt: Service and Repair
Removal1. Disconnect battery ground cable.
2. Move drive belt tensioner to loose side using wrench then remove drive belt.
3. Remove engine harness cover and disconnect three connectors from left rear side of engine compartment.
4. Remove four bolts and remove crankshaft pulley.
5. Disconnect three connectors of engine harness from chassis harness of left rear side of engine compartment.
6. Remove nut and remove engine harness cover from front of engine.
7. Remove two bolts then remove timing belt front cover.
8. Remove fixing bolt of timing belt tensioner then remove timing belt tensioner (1).
9. Remove timing belt.
Caution:
- Do not bend or twist belt, otherwise its core could be damaged. The belt should not be bent at a radius less than 30 mm.
- Timing belt drive pulley counter hold with J-42620.
- Do not allow oil or other chemical substances to come in contact with the belt They will shorten the life.
- Do not attempt to pry or stretch the belt with a screw driver or any other tool during installation.
- Store timing belt in cool and dark place. Never expose the belt direct sunlight or heat
Installation
1. Install timing belt tensioner then tighten it temporarily until make alignment timing belt.
2. Install the timing belt and perform timing belt setting procedure as follows:
Timing mark: Camshaft pulley
Timing mark: Crankshaft pulley
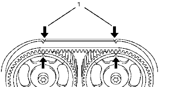
a. Bring the engine top dead center No. 1 cylinder compression stroke by rotating the engine in the direction of normal operation.
The engine is in this position when the notches on the camshaft pulleys align with the marks on the cylinder head cover (1), Check the crankshaft pulley timing mark is aligned (2)
b. Place J-43037 between intake and exhaust of camshaft drive gear for prevent to camshaft drive gear movement during timing belt setting.
c. Set the timing belt shown in the illustration, ensure that tension side of the timing belt is taut and move the timing belt tension adjustment lever clockwise, until the pointer of the tensioner is flowing.
3. Adjust the timing belt tension.
The timing belt tension adjusting procedure as follows.
a. Adjustment of the new timing belt.
Slightly loosen the fastening bolt of the timing belt tension roller, depending on the version, rotate the adjustment cam in direction of arrow (clockwise) until:
Version 1: Pointer (1) of the timing belt tension roller aligns with the notch (2).
b. Version 2: Pointer (1) of the timing belt tension roller aligns with the "NEW" notch (2)
c. Tighten the fastening bolt (1) of the timing tension roller,
Torque: 25 Nm (18 ft. lbs.)
d. Remove the fixing tool J-43037.
e. Turn the crankshaft another two turns (720°) in engine rotational direction to mark 1st cylinder TDC and check adjustment of the timing belt tension roller. If the marks do not align, so repeat the adjustment procedure.
f. Adjustment of the used timing belt,
Make the adjustment with engine cold.
A prerequisite of this operation is that the timing belt timing has been checked. This means that the crankshaft is at 1st cylinder TDC (2) and the camshaft pulleys are fixed with special tool J-43037.
Loosen fastening bolt (1) of the timing belt tension roller. Apply counterclockwise tension to the timing belt tension roller until the pointer is right at the right edge of the mark (see diagram below). Tighten the fastening bolt (1) of the timing belt tension roller.
Slightly loosen the fastening bolt of the timing belt tension roller, depending on the version, rotate the adjustment cam in direction of arrow (clockwise) until:
Version 1: Pointer (1) of the timing belt tension roller is approx. 4 mm to the left of the notch (2).
Version 2: Pointer (1) of the timing belt tension roller aligns with the "USED" notch (2).
g. Tighten the fastening bolt (1) of the timing tension roller.
Torque: 25 Nm (18 ft. lbs.)
h. Remove the fixing tool J-43037.
1 of 2
2 of 2
i. Turn the crankshaft another two turns (720°) in engine rotational direction to mark 1st cylinder TDC and check adjustment of the timing belt tension roller. If the pointer (1) of the timing belt tension roller does not align with the corresponding mark (2) the adjustment procedure must be repeated.
4. Install timing belt front cover and tighten two bolts to the specified torque.
Torque: 6 Nm (52 inch lbs.)
5. Install engine harness cover to front top of engine and tighten nut to the specified torque.
Torque: 6 Nm (52 inch lbs.)
6. Install crankshaft pulley and tighten four bolts.
Torque: 20 Nm (14 ft. lbs.)
7. Move drive belt tensioner to loose side using wrench then install drive belt to normal position.
8. Connect engine harness three connector to chassis harness of left rear side of engine compartment.
9. Connect battery ground cable.